压力释放装置的在用试验程序:
1、试验要求
1.1 安排这些试验是为了确保阀门的整定压力和运行状况已准备就绪,而不必证实阀门已整体符合规范或技术要求。按照有关各方的协议,可采用 2 及 3 的试验方法以满足这一要求。
1.2 作为安全预防措施,所有操作人员应就合适的试验设备规程、试验准备以及应急处置计划等方面进行适当的培训。应注意保护操作人员免受试验过程中高温、噪声和排放介质的伤害。建议在试验之前对阀门作一次目视检查。检查项目应至少包括以下各项:
a)阀门压紧杆状况;
b)阀门泄漏情况;
c)检查排放管;
d)腐蚀或污染;
e)安装合适的罩帽和扳手;
f)铅封的完整性(确保未经未授权的调整);
g)适当的阀门安装。
注:当人员在靠近阀门的区域进行检查时,需要注意安全,使用压紧杆时按照阀门制造厂的说明书进行操作。
1.3 应将满足要求的适当的测压仪表安装在能够精确测量阀门进口处系统压力的位置。同各种试验装置一起使用的其他测量仪表应符合装置制造厂的要求。
2、试验方法
2.1 以系统压力进行的试验
升高阀门进口压力到阀门开启,观察并记录阀门的整定压力以及其他要求或有关的阀门特性值。继续升高阀门进口压力到阀门排放,同时观察阀门的动作,记录排放压力和开启高度。然后逐渐降低进口压力直到阀门关闭,同时观察阀门的动作,记录回座压力。重复这一试验,以便可按要求确定阀门的动作特性。
诸如环境温度、阀门温度、介质状况、背压力和安装条件等试验条件应接近压力释放阀将承受的正常运行条件。
密封面泄漏试验按要求进行。
2.2 用其他压力源进行的试验
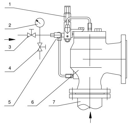
在安装先导式压力释放阀的场合,可能不希望将系统压力提升到超过正常运行压力。此时可按阀门制造厂的建议使用一个现场试验附件来确定整定压力。使用现场试验附件的典型布置参见图 1。
应重复这一方法的试验以便能按要求确定阀门的整定压力。

标引序号说明:1——被试导阀;2——压力仪表;3——外部气源截止阀;
4——放空排气截止阀;5——被试阀的现场试验附件;6——被试主阀;7——系统管道。
图 1 先导式安全阀现场试验附件
2.3 使用辅助提升装置的试验
当在阀门安装现场不希望将系统压力提升到超过正常运行压力时,可按阀门制造厂的建议使用辅助提升装置。辅助提升装置在系统压力的基础上提供一个补充载荷以克服作用在阀瓣上的弹簧力。经标定的辅助提升装置安装在阀杆上,在保持系统压力为恒定值的同时对阀杆施力直至阀门开启。阀门开启的特征为听到声音,补充载荷的瞬间下降及/或系统介质的释放。在阀门开启的同时记录系统压力和补充载荷。然后释放辅助提升装置的载荷。辅助提升装置可以手工、半自动或自动操作。阀门的整定压力利用图表或通过公式计算确定。而图表或公式则是在辅助提升装置按特定的阀门设计、尺寸和试验介质条件进行标定的基础上建立的。应重复这一试验以便能按要求确定阀门的整定压力。使用这一试验方法不能确定阀门的回座压力。阀门的调节圈应按其原始试验数据调整。
注:当进口压力过分低于阀门整定压力时,使用辅助提升装置可能导致阀门损坏。
3、在运行条件下验证排量
3.1 如果试验各方同意,在完成2所述之一的试验之后,可以在运行条件下近似地来确定压力释放阀的排量。在大多数情况下,这类试验的目的在于验证运行条件下的压力释放装置具有足够的尺寸来防止超压。
在试验过程中必须采取预防措施,以确保被保护系统的最大允许工作压力不会被超过到安全不允许的程度。
3.2 如果不需要定量的排量值,可以采用蓄能试验方法。进行这类试验时,切断容器的所有出口,使输入的能量和质量流量达到最大值,而这些能量和质量流量将通过压力释放装置释放。如果装置的尺寸合适,容器的压力不应升高到超过可接受的预定值。对于带过热器或再热器的蒸汽锅炉或高温水锅炉,不应采用这一方法。
3.3 对于安装在蒸汽锅炉上的压力释放阀,可以确定一个估计的定量排量。在上述的蓄能试验中,除压力释放阀以外的所有蒸汽出口均被切断,而锅炉以一个足以使阀门在规定的压力下保持开启的受控速率燃烧。只要在一个较长的时段内保持稳定的蒸发条件,就可以通过计量输入锅炉的给水流量来估计出压力释放阀的排量。
3.4 如果有关各方同意,也可采用其他的试验方案。比如,可以在阀门出口连接一个容器以收集排放的介质,或通过一个流量测量装置排向大气。但应采取措施以确保可能产生的排放背压不会影响阀门的动作。