柴油滤清器滤芯的耐高压降性能试验方法:
1、试验装置
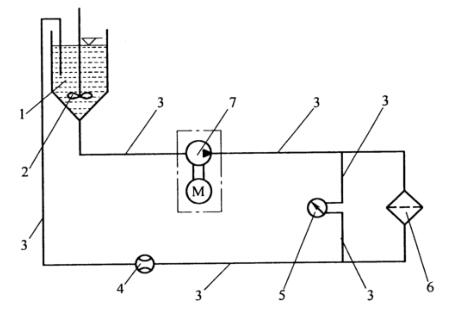
试验装置如图 1 所示。

说明:1——油箱,最小容量 5L;2——搅拌器;3——管路,最小内径 12mm;4——流量计(测量准确度为 ±2%);
5——压差计(测量准确度为 ±5%);6——被试漉清器;7——齿轮式液压泵,由无级变速电动机驱动.
图 1 滤芯耐高压降性能试验装置原理图
2、试验用油及温度
采用符合 GB 11122 的 20W-40 柴油机油,试验时试验液温度应控制在 23℃±5℃。
3、试验程序
用研碎的松香脂(P.V.resin)作为试验杂质,其粒度分布为:
100% 通过20 目筛孔(孔径为 850μm);
85% 通过80 目筛孔(孔径为 180μm);
50% 通过 200 目筛孔(孔径为 75μm)。
按每升试验油含 100g 试验杂质制备浓缩杂质油。将 5L 试验油注入油箱,然后启动齿轮式液压泵 7,调节流量至被试滤清器的额定体积流量。启动搅拌器 2,每 5min 加入油箱 25mL 的浓缩杂质油。
绘制压差-时间曲线。如压差下降或压差增加速度明显降低,则表明滤芯已破损。试验持续至滤芯失效或压差达到 400kPa。
4、试验报告
试验报告应包括下列内容:
a)滤清器的额定体积流量,单位为升每小时(L/h);
b)滤清器的简要说明:新的还是已使用过的,如为已使用的,给出大致使用时间,单位为小时(h);
c)破损压差,单位为千帕(kPa);
d)试验用油;
e)试验温度,单位为摄氏度(℃);
f)滤清器的型号和制造单位。