气体调压装置用安全切断阀(以下简称安全切断阀)是一种公称尺寸 DN25~DN1000、公称压力 PN2.5~PN160,公称尺寸 NPS1~NPS40、压力等级 Class150~Class900,工作温度 -46℃~60℃,工作介质为天然气及其他非腐蚀性气体的安全切断阀。今天我们来学习关于该型安全切断阀的性能试验方法。
1、试验要求
1.1 试验介质应控制在 5℃~50℃ 的温度下进行。
1.2 壳体试验用介质应为水(可含防腐剂)或其他黏度不大于水的适当液体;密封试验用介质为氮气或干燥空气。
2、壳体试验
壳体试验压力为不低于 38℃ 最大允许工作压力的 1.5 倍且不低于额定压力 P+0.2MPa,向承压件腔室缓慢增压至所规定的试验压力,保压时间应按 GB/T 26480 的规定,试验结果应符合规定。
3、密封试验
安全切断阀应保持切断状态,上游部分分别缓缓通入 0.1MPa 和 1.1 倍最大允许工作压力的试验介质,按图 1 进行测试,持续时间应按 GB/T 26480 的规定,试验结果应符合规定。

说明:1——压力表;2——被测安全切断阀;3——水容器。
图 1 阀座密封性测试系统
4、切断压力精度
4.1 超压切断压力精度
超压切断压力精度测试步骤如下:
a)安全切断阀安装在图 2 所示系统上,阀体处于大气压状态;
b)调节切断压力至设定范围下限;
c)安全切断阀保持打开状态,从 0.8 倍选择的切断压力开始,逐渐增加系统内压力,增加的速度不大于每秒钟 1.5% 倍选择的切断压力,直至切断发生;
d)重复上述步骤 5 次,设定值为 6 次读数的算术平均值;
e)使阀体处于最大进口压力状态,重复步骤 b)~d);
f)安全切断阀切断压力设定值为步骤 d)、e)的平均值;
g)测试结果处理:如果步骤 c)、d)、e)中的切断压力在 Pts×(1-AG/100)~Pts×(1+AG/100)之内,切断压力合格;
h)调节切断压力至设定范围的上限,重复步骤 a)~g);
i)出厂检验只进行步骤 a)~g)。
4.2 欠压切断压力精度
欠压切断压力精度除步骤 c)的起始压力为 1.2 倍选择的切断压力,然后逐渐降压。其余测试步骤与超压切断相同。

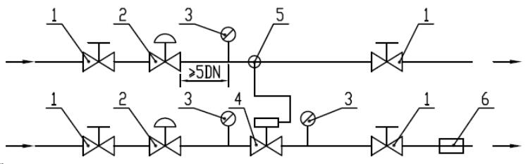
说明:1——截断阀门;2——调压稳压器;3——压力表;4——被测安全切断阀;5——安全切断阀控制器取压点;6——流量计。
图 2 切断压力精度试验系统原理图
5、响应时间
5.1 响应时间试验方法
安全切断阀按照图 3 安装在系统中,使用调压阀调节系统压力,当系统压力达到切断压力设定值极限时,通过压力传感器 5、控制器 6 向计时器7发出一个开关量信号,计时器开始计时;当被测安全切断阀 2 切断至完全关闭时,位置传感器 3 向计时器 7 发出一个开关量信号,计时器停止计时,此时间即为安全切断阀的响应时间。
5.2 超压切断响应时间
超压切断压力响应时间应在阀瓣处于开启位置状态并且阀体处在最大工作压力时开始测试。测试步骤如下:
a)调节图 3 中调压阀 4 出口压力为切断压力设定值的 0.5 倍左右,然后缓慢增加压力,增压速度不大于每秒钟 1.5% 倍切断压力设定值,系统内压力增至切断压力下限值时,开始计时,同时急速(时间在 0.2s 之内)增压直至安全切断阀切断;
b)记录计时器显示的时间值;
c)进行三次独立测试,每次数值均小于 2s,取算术平均值作为响应时间测试值。测试结果应符合规定。
5.3 欠压切断响应时间
欠压切断压力响应时间应在阀瓣处于开启位置状态并且阀体处在最大工作压力时开始测试。测试步骤如下:
a)调节图 3 中调压阀 4 出口压力为切断压力设定值的 1.5 倍左右,然后缓慢降低压力,降压速度不大于每秒钟 1.5% 倍切断压力设定值,系统内压力降至切断压力上限值时,开始计时,同时急速(时间在 0.2s 之内)降压直至安全切断阀切断;
b)记录计时器显示的时间值;
c)进行三次独立测试,每次数值均小于 2s,取算术平均值作为响应时间测试值。测试结果应符合规定。

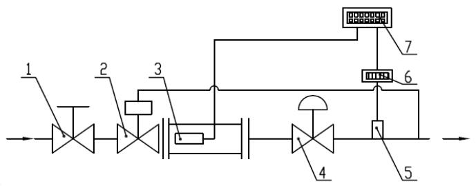
说明:1——开关阀门;2——被测安全切断阀;3——位置传感器;4——调压阀;
5——压力传感器;6——控制器;7——计时器。
图 3 响应时间测试系统
6、耐久性
耐久性的测试方法如下:
a)设定安全切断阀的切断压力为切断压力范围的中间值;
b)在室温下进行 100 次切断动作;
c)按 3、4 的试验方法检查阀座的密封性和切断压力精度,应符合要求。