关于模拟井底条件下射孔孔眼流动特性试验的检测要求。
1、一般要求
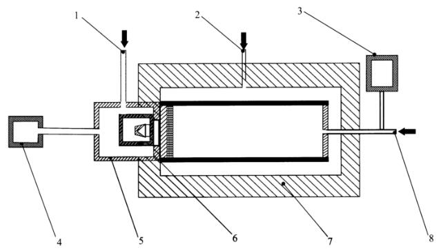
图 1 给出了典型的试验装置示意图,试验所需的检测设备包括以下几部分:
a)靶约束系统。
b)井筒模拟系统。
c)湍流模拟系统。
d)射孔枪模拟系统。
e)压力控制检测系统。
f)流量控制检测系统。
g)数据采集系统。

1——井眼压力入口;2——围压入口;3——充气储罐;4——充气储罐;
5——模拟井;6——射孔器;7——模拟围压容器;8——孔隙压力人口
图 1 试验装置示意图
2、靶约束系统
靶约束系统由靶总成和能够将静压力均匀地加载到靶上的围压容器组成,容器应有足够大的内径以免引起测试误差。加载应控制在一个合适的速率以保证加压时样品不出现问题。靶外套应使用弹性材料,并考虑温度与流体环境的影响。可选择加压流体,使用与试验过程不相容的流体会污染靶体并导致试验结果无效。
3、模拟井筒系统
模拟井筒系统的压力容器与靶围压系统连接时,可建立三个独立的压力环境(围压、井压和孔隙压力)。
4、湍流模拟系统
为了模拟油藏响应,在射孔过程中用蓄能器提供流入或流出砂岩靶体的“湍流”。为靶边界提供恒定的压力边界条件,应减少孔隙压力蓄能器与砂岩靶之间连接管道的流动限制,增加孔隙压力蓄能器容积可以减少射孔后的孔隙压力损失。孔隙压力蓄能器的气体预充填量影响射孔后湍流的流量和射孔后孔隙流体的最终压力。
5、模拟射孔枪系统
模拟射孔枪系统由一个包括射孔弹、导爆索、雷管的密闭装置组成。模拟射孔枪应与试验中的射孔弹相匹配,在射流方向与现场用枪厚度相同,炸高应与现场射孔枪中的枪内炸高相匹配,模拟射孔枪与模拟靶板的间隙应与现场相匹配。可根据射孔动态冲洗的效果调整射孔枪的内部体积。
常见的模拟射孔枪设计有两种:一种与现场用枪结构相同,另一种模拟现场用枪。
6、压力控制和测量系统
压力控制和测量系统由泵、传感器、阀门等组成,用于提供、保持和控制试验中需要的围压、孔隙压力和井筒压力。应提供充分的泄压能力,避免因设备故障或误操作引起容器超压。“SY/T 6163-2018 6.5.8 系统校准和测试要求”给出了压力测量装置精度要求。
7、流量控制和测量系统
流动控制和测量系统由流量泵、控制器、流量计、阀门等组成,用于提供、保持和控制进出试验靶的流体。试验流体可包括单相油、水、气或者混合物。“SY/T 6163-2018 6.5.8 系统校准和测试要求”给出了流量测量装置精度要求,应考虑如下两个方面:
a)流量测量和速度控制非常重要,一个不合适的设计系统将给检测结果带来很多错误,建议对于液体流动通过控制流速测量压差,对于气体流动通过控制压差测量流速。
b)流体过滤极为重要,不适当或不充分的过滤将导致堵塞岩心,将会给压差的测量带来误差,“SY/T 6163-2018 6.5.8 系统校准和测试要求”给出了系统评估。
8、数据采集系统
数据采集系统应包括所需的设备,能够精确记录满足测试精度要求的数据。应注意下列事项:
a)模-数转换会是明显的误差来源,使用高分辨率模-数转换器有助于提高精度。
b)射孔时系统应有"快速"采集数据的能力,测试应至少采集井筒压力,射孔时枪的峰值压力和孔隙压力也有助于理解系统响应。采集速率应不低于 5000S/s。
c)应注意减少雷管起爆和电器干扰引起的噪声,选择合适的传感器位置,避免由于震动反射产生误差。