气举阀调定作法:
1、试验准备
1.1 准备试验用气举阀
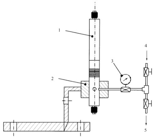
1.2 采用"套筒式"气举阀压力调试装置,如图 1 所示。
2、调定步骤
2.1 气举阀充气
将气举阀波纹管内充入氮气,充气压力应比工艺设计要求的压力高 140kPa。
2.2 气举阀恒温
将气举阀放入 15℃ 的恒温水浴中 30min。
2.3 气举阀调压
从恒温水浴中取出气举阀,30s 内插入调试装置中(取阀时避免手持气举阀的气室位置)。用气压打开气举阀,调定气室压力。各级阀的打开压力应比设计压力高 70kPa。若调定时间超过 30s,则从调试装置取出该气举阀,并放回恒温水浴中不少于 15min,然后继续进行调定压力操作。
2.4 气举阀水静压老化校验方法
2.4.1 安装尾堵、铜垫,并将气举阀放入老化器中,加压至 34450kPa(5000psi)保持 15min。释放压力后,再加压到 34450kPa(5000psi)。重复加压、放压操作不少于三次。
2.4.2 将气举阀从老化器中取出,卸下尾堵、铜垫,放回恒温水浴中,恒温不少于 30min。
2.4.3 从恒温水浴中取出气举阀,装入调试装置中检查开启压力。开启压力值变化若大于 34.45kPa(5psi),则重复步骤 2.4.1 至 2.4.2,直至开启压力值变化小于 34.45kPa(5psi)时为止。
2.5 气举阀的调定
将老化校验后的气举阀重新装入调试装置上,按照设计压力进行压力调定。

说明:1——气举阀;2——环形罩试验器;3——压力表;4——进气道;5——排气道。
图 1 "套筒式"气举阀压力调试装置示意图
以上就是今天的分享!如果您对用于上述试验的气举阀压力调试装置感兴趣,欢迎与我们联系!
