瓶装液化石油气调压器是一种进口压力为 0.03MPa~1.56MPa,额定出口压力为 2.80kPa,额定流量小于或等于 2m³/h,使用环境温度为 -20℃~+45℃ 的家用瓶装液化石油气调压器(以下简称家用调压器);以及进口压力为 0.03MPa~1.56MPa,额定出口压力为 2.80kPa 或 5.00kPa,额定流量小于或等于 3.6m³/h,使用环境温度为 -20℃~+45℃ 的商用瓶装液化石油气调压器(以下简称商用调压器)。

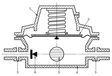
说明:1——承压组件(上壳体、呼吸孔、弹簧和弹簧调节盖);2——感压组件(膜片和膜板);3——连接组件(进口 和出 口 连接接头);
4——下壳体;5——机械联动组件(杠杆、连接件);6——调压组件(阀座和阀垫)。
图 1 调压器的主要部件
今天我们学习该型调压器的气密性以及耐压试验的方法。
1、气密性试验
1.1 性能要求
1.1.1 调压器气密性
调压器气密性应符合下列要求:
a)当调压器出气口接头为软管连接或螺纹连接且尺寸小于或等于 G1/2 时,泄漏量应小于 15mL/h;
b)当调压器出气口接头为螺纹连接且尺寸大于 G1/2 时,泄漏量应小于 30mL/h。
1.1.2 手动关闭机构气密性
手动关闭机构在 15kPa 和 1.76MPa 气压下不应泄漏。
1.2 试验方法
1.2.1 调压器气密性
1.2.1.1 进口侧
从调压器进口分别充入压力为 15kPa 和 1.76MPa 的试验介质,关闭出口阀门,采用检漏仪或浸水法检测泄漏量。采用浸水法应至少持续观察 1min。检查试验结果是否符合 1.1 的规定。
1.2.1.2 出口侧
从调压器出口充入 15.0kPa 的试验介质,采用检漏仪或浸水法检测泄漏量。采用浸水法应至少持续观察 1min。检查试验结果是否符合 1.1 的规定。
1.2.2 手动关闭机构气密性
手动关闭机构应处于"关"的位置。从调压器进口分别充入压力为 15kPa 和 1.76MPa 的试验介质。试验持续时间不应少于 2min,在此期间,检查试验结果是否符合 1.1 的规定。

2、耐压性试验
2.1 性能要求
2.1.1 调压器进口侧在 2.80MPa 的水压下不应渗漏、变形或破裂;试验结束后,调压器应符合 1.1 的规定。
2.1.2 调压器膜片在 0.05MPa 的气压下不应破裂或从其安装位置移出。试验结束后,调压器应符合 1.1 的规定。
2.1.3 调压器整体在 1.56MPa 的水压下不应破裂或解体。但允许出现扭曲或永久变形现象。
2.2 试验方法
2.2.1 将调压器出口封闭,从调压器进气口充水加压至 2.8MPa。当调压器安装有手动关闭装置时,该装置应处在"开"的位置。达到试验压力后持续时间不少于 15min。检查试验结果是否符合 2.1.1 的规定。
2.2.2 将完成 2.2.1 试验的调压器从出气口充气加压至 0.05MPa。达到压力后持续时间不少于 15min,在此期间调压器的泄漏不应超过 50mL/h。检查试验结果是否符合 2.1.2 的规定。
2.2.3 将另一个调压器从出气口充水加压至最大进口压力,堵住进气口、呼吸孔和任何其他连接外部大气的阀孔。为了达到试验目的,膜片可刺穿以便让水可以穿过。达到试验压力后持续时间不少于 15min。在试验过程中壳体连接处的泄漏可以忽略不计。检查试验结果是否符合 2.1.3 的规定。
