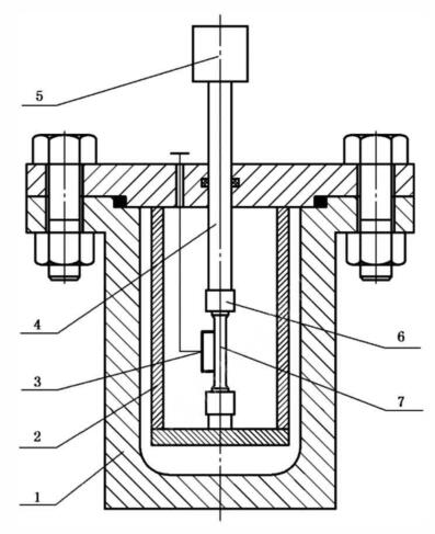
金属材料与氢环境相容性试验设备主体基本结构如图 1 所示,主要由试验箱、 支撑装置、测量装置、 加载杆等组成。
试验箱的主要作用是给试样提供高压气体环境;支撑装置用于固定试样的一端;测量装置用于测量试样轴向力、试样变形、横梁位移等参数;加载杆与伺服机构连接,为试样提供轴向力。

说明:1——试验箱;2——支撑装置;3——内部测量装置;4——加载杆;5——外部测量装置;6——夹具;7——试样。
图 1 试验设备主体基本结构
1、一般要求
1.1 金属材料与高压氢环境相容性试验设备主体参见图 1。主要由试验箱、支撑装置、测量装置、加载杆等组成。
1.2 试验设备应满足 GB/T 29729、GB/T 34542.1 的相关安全要求。
1.3 试验设备的材料应满足相应国家标准或者行业标准的要求,与氢气直接接触的材料应与氢气具有良好的相容性。
1.4 试验设备的温度和压力控制系统应能满足相关试验要求。
1.5 试验设备的气体排放系统应设置流量控制装置。
1.6 试验设备停用期间,试验箱内宜充装 0.1MPa 的高纯氮气或惰性气体进行保护。
1.7 试验设备连续 15 天以上停用时,应先经泄漏检测,合格后方可进行试验。
2、试验箱
2.1 试验箱材料、设计、制造、使用管理、定期检验等应参考 TSG 21 的相关规定。
2.2 试验箱设计应考虑疲劳载荷及氯气对材料性能的影响。
2.3 试验箱设计压力循环次数不得低于预期使用年限内的压力循环次数。
2.4 宜采用适当的装置平衡气体压力作用在加载杆上的轴向力。
3、测量装置
3.1 内部测量装置
3.1.1 内部测量装置应能承受试验箱内的压力,并具备试验所需的精度和分辨率。
3.1.2 内部测量装置的电子元件在高压氢气环境中应具有良好的稳定性。
3.1.3 应详细记录内部测量装置在高压氢气环境中输出信号随时间的变化规律,记录时间应大子相应试验所需的时间。
3.1.4 疲劳试验应采用内部载荷测量装置测量试样轴向力。
3.2 外部测量装置
3.2.1 采用外部载荷测量装置时,应对测量值进行修正,详细记录修正方法,并提供文件说明.修正至少应考虑以下因素:
a)气体压力作用在加载杆上的轴向力;
b)加载杆与试验箱之间动密封处的摩擦力。
3.2.2 采用外部位移测量装置时,应考虑加载杆弹性变形对试样变形量测量结果的影响,并记录消除该影响的方法。