ASTM D621 塑料负荷变形测试标准
1、范围
1.1 这些测试方法包含了各种类型和全部商品厚度下在非金属片材和模塑塑料材料挤压下用于和防腐保温目的的塑料发生变形的定义。
包含两种测试方法:
测试方法 A——用于刚性塑料;
测试方法 B——用于非刚性塑料。
1.2 单词"变形"在这里的使用从广义上来说包含了(1)塑料尺寸的改变,(2)拉伸的变形,塑变和由于水分或者其他挥发性介质的减少而引起的收缩。
1.3 此标准可能包含有危险的材料,操作和设备。此标准没有声明给出在使用上的全部安全问题,使用者有责任在使用前进行适当的安全健康联系,并且定义适用性的规则权限。
2、参考文件
2.1 D374 固体电气绝缘厚度的测试方式;
D575 挤压条件下橡胶性能的测试方式;
D618 条件作用下塑料和电器绝缘材料的测试方式
3、重要意义及使用
3.1 使用测试方法 A 获得的数据能够为由螺栓或相似紧固装置组成的导体和绝缘材料在经受挤压下不发生变形不损失组装时间的刚性材料提供测试能力。测试方法A同样可以对条件温度下塑料的刚性进行测试,然后用此方法作为标识测试用于采购。
3.2 方法 B 获得的资料能够为发生变形后回到原始尺寸的非刚性塑料提供测试能力,测试方法B可以确定在应用中需要拉伸特性的塑料的范围。
测试方法 A——刚性塑料
4、类型测试
4.1 方法 A 的工作原理:样品安放在仪器的两个平行板中间,规定压力,设定温度,持续受压,观察一定时间内样品的高度变化。

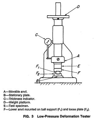
图 1 变形测试仪器
5、器具
5.1 测试机器——A 机器持续的顶端压力为 113kg,227kg,454kg,加减百分之一,在机器两个铁毡之间,并且应该进行调整以致在测试样品负载之前与样品进行接触。A 机器适合这个测试在图 1 中进行了展示。仪器中最好有一个铁毡可以自行校正对准,这样的调整可以使得负荷均匀的与样品接触,并且使得样品准确的置于中心。机器应该匹配一个拨表或者相同功效的设备用于测量相关的接触表面的位移,精度为 0.025 毫米或更小。一个完全浸泡类型的温度计应该水平悬挂在离样品不超过 76 毫米的地方。
5.2 测试室:一个合适尺寸的测试室,结构完全包裹住测试机器,除了在开始阶段由于开门导致的温度下降,能在测试时保持 ±1℃ 的温度公差。
6、测试样品
6.1 测试样品应该是 12.7 毫米立方形,可以是固体或复合样品,厚度超过 12.7 毫米应该减小到 12.7 毫米,薄的材料应该累加至差不多 12.7 毫米。在任何情况下,复合而成的样品应该校对成方形。测试样品的表面应该平行平整。
6.2 如果是由湿气吸收特性在整个表面可能发生变化的例如含酚层压纤维为样品材料做成大号的片材,如果没有特别的规定应根据 6.3 描述的方法取样,组成样品的每一方块都是相同比例的。
6.3 片材样品的采集—样品应从整个片材上剪取一块宽度为 12.7 毫米的长条。如果片材形状不规则或者片材对称的两边不平行,从中心开始街区是的两边平行。如果片材的四分之一已被使用,样品条的截取应该从中心到边缘的整个部分的边缘截取。裁条应被平均分成 8 个部分且从 1~8 做出标号。从片材的边开始剪切,组成复合测试样品的矩形物应来自这些裁条,如果矩形物没有使用这些裁条,它的截取应从最靠近片材边缘的底端获得。如果从裁条上截取的矩形物数量不够,就要从邻近第一个裁条的旁边再次裁条,再剪成一片一片,并按图表 1 剪取适当疏朗的矩形物。
注意:测试数值可能发生重大的变化,特别对于组合而成的样品,如果样品的背面不平整,或者有凹痕和其它类似不完美的情况。为了使变化的可能性减小到最小应使样品尽量平整,对不完整的地方进行打磨。如果使用固体方块,与铁毡接触的反面应磨平打磨光滑。
7、测试条件
7.1 在常规空间条件下,样品变形测试条件应根据 7.1.1 和 7.1.2。
7.1.1 条件状态:测试前最少在温度 23±2℃,相对湿度 50±5% 环境中保持 40 个小时,在有争论的情况下,允许 ±1℃ 的温度公差和 ±2% 的湿度公差。

表 1 不同厚度需要的方形片材数量
7.2 如果材料收缩在整个形变中占了较大比例,除非是特别指定的条件,这个材料必须先在 65±3℃ 的环境中放置 4 小时,然后在温度 35±1℃、湿度 90±2% 的环境中放置 68 小时。为了保证样品预处理的均匀性,样品必须放置在一种孔径大于八分之一英寸的金属网上,这样空气就可以自由到达样品的所有表面。
7.3 无论在哪,都希望有一种快速测量总变形的方法,例如为了获取一种和"shrinkage"相比与"flow"关系更大的材料(单词意思见开篇词汇解释),可以先在烘箱的 50℃ 循环空气中放置 16~18 小时,然后拿出来按照 D618 的方法冷却至室温,最后在一个无水氯化钙的干燥器中放置至少三小时。

7.4 如果明确知道材料不是湿气敏感,也许可以忽视某种条件要求。
8、测试温度
8.1 测试温度就是包含测试用具在内的房间温度,应该是一个或更多如下温度:23℃、50℃、和 70℃,所有温度必须控制在 ±1℃ 的温度公差。

9、建议使用的极限变形值
9.1 建议:每次试验时,变形值不应该超过 25%,因为极大地超过工程学意义的数值是非常可疑的。
10、过程
10.1 把处理好的测试样品安置在测试机的铁砧之间,然后立刻离开。当样品测试放置在测试机时,无需考虑室温。如果是多个样品复合,请保证它们叠放整齐。
10.2 没有震动的情况下给样品加载压力,在达到设定压力值 10 秒后读取初始变形 值x。在 24 小时后,读取第二个变形值 y,并记录下高度的总变化 A=y-x。测定样品的原始高度:先把样品从测试机中拿出,测量出此时样品的高度,再加上测试机表盘上读出的总的高度变化,就得出样品的原始高度。
11、计算
11.1 24 小时后,测试样品的高度变形百分比,计算公式如下:
变形 %=(A/B)×100
其中
A=在 24 小时内,高度的总变化,单位 mm。
B=原始高度,单位 mm。
12、报告
12.1 实验报告需包含以下内容:
12.1.1 样品的原始高度,单位 mm。
12.1.2 每个样品组分的厚度,如果测试的是一个复合样品。
12.1.3 预处理条件和程序。
12.1.4 测试温度和压力。
12.1.5 在 24 小时内,高度的总变化,单位mm。
12.1.6 变形(包括 Flow 和综合 Flow 和 shrinkage)计算基于样品的原始高度,它说明的是试样高度变化的百分比。