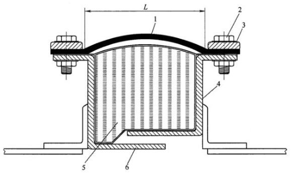
非金属补偿器(non-metallic compensator)是一种通过吸收热位移来消除管道或设备系统中应力的柔性连接元件,可起隔振、减振以及吸收管道安装误差的作用。一般由圈带和金属结构件等多种材料构成。行业上部分也称非金属膨胀节。非金属补偿器一般由构架、圈带、压板、导流筒、隔热填料层组成。其选材及结构应满足耐温、耐腐蚀、阻燃、密封的耍求。整体结构型式见图 1。

说明:1——圈带;2——紧固件;3——压板:4——构架;5——隔热填料层;6——导流筒。
注:L——补偿器有效长度。
图 1 非金属补偿器整体结构型式示意图
今天,我们来学习其气密性、疲劳性能以及爆破压力试验的内容。
1、气密性
1.1 技术要求:
非金属补偿器在 1.0 倍设计压力下进行气密性试验,泄漏量应不大于 10%。
1.2 试验方法
非金属补偿器以其自由长度处于直线的状态,两端固定且有效密封,缓慢加压至 1.0 倍设计压力,保压 5min 后,压力表示值应不小于初始压力的 90%,其介质为干燥洁净的压缩空气,结果应符合 1.1 的要求。
2、疲劳性能
2.1 技术要求
非金属补偿器在规定的设计压力、位移条件下循环,循环次数应不小于设计疲劳寿命的 2 倍。非金属补偿器在规定的试验循环次数后进行气密性试验,泄漏量应不大于 15%。
2.2 试验方法
将非金属补偿器安装在疲劳试验机上,两端密封,充气压至设计压力,其介质为干燥洁净的压缩空气,按照规定位移值循环,循环速率不大于 25mm/s,压力波动值不大于试验压力的 ±20%,试验后,进行气密性试验,结果应符合 2.1 的要求。
3、爆破压力
3.1 技术要求
非金属补偿器在 2 倍设计压力下进行压力试验,外观应无明显机械损伤,结构件应无明显变形。泄压后进行气密性试验,泄漏量应不大于 10%。
3.2 试验方法
非金属补偿器以其自由长度处于直线的状态,两端固定且有效密封,缓慢加压至 2 倍的设计压力,其介质为干燥洁净的压缩空气,结果应符合 3.1 的要求。
以上就是今天的分享!如果您对用于上述试验的相关试验装置(如红足1世足球网、疲劳性能试验机、爆破压力试验机等)感兴趣,欢迎与我们联系!
