今天给大家带来的分享是关于气动气缸的试验条件及试验方法的内容。如果您对用于下述试验的相关试验装置感兴趣,欢迎与我们联系!
1、试验条件
1.1 介质
试验介质为经过过滤、除水、除油的干燥压缩空气,应达到 JB/T 5967 规定的空气质量等级为 465 的要求(即固体粒子尺寸 ≤15μm;压力露点温度不高于 10℃;最大含油量为 25mg/m³)。
1.2 环境条件
环境温度:25℃±10℃;
环境相对湿度:≤85%。
1.3 测量仪器和稳态条件
1.3.1 测量仪器
型式试验和出厂检验所用测量仪器的允许误差应不超出表 1 的规定范围。
1.3.2 稳态条件
被测参数平均指示值在表 2 规定的范围内变化时,允许记录参数测量值。
表 1 测量仪器的允许误差
| 测量仪器参数 | 测量仪器的允许误差 | |
| 型式试验 | 出厂检验 | |
| 力 % | ±1 | ±2 |
| 压力 % | ±1.5 | ±4 |
| 温度 ℃ | ±2 | ±3 |
表 2 温度、压力平均指示值范围
| 被测参数 | 型式试验 | 出厂检验 |
| 温度 ℃ | ±2 | ±3 |
| 压力 % | ±1.5 | ±4 |
2、试验方法
2.1 起动压力
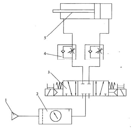
试验回路见图 1。节流阀全开,如是有气缓冲功能的气缸应将其缓冲调节阀打开,气缸水平放置,经往复运动数次后,在空载状态,从零气压开始慢慢加压,直到活塞开始运动,并能运行至行程终点,往复运动三次,其最小加压值为起动压力,其值应满足规定。
2.2 空载性能
试验回路见图 1。气缸水平放置处于空载状态,调节节流阀使气缸活塞运动速度 ≤150mm,带气缓冲功能的气缸应将其缓冲调节阀打开,经往复运动数次后,气缸的两腔交替通入表 3 规定的最低工作压力的压缩空气,全行程往复运行三次,观察气缸活塞的运行情况,应符合规定。
表 3 最低工作压力
| 缸径 mm | 6~100 | 125~320 |
| 最低工作压力 kPa | 150 | 100 |

1——气源;2——三联件:3——换向阀;4——单向节流阀;5——被测气缸。
图 1 起动压力、空载性能试验装置系统原理图
2.3 负载性能
试验回路见图 2。在活塞杆轴向施加表 4 规定的负载,打开试验回路中的节流阀,在气缸两端气口交替通入公称压力的压缩空气,沿全行程往复运动三次以上,观察气缸活塞的运行速度和工作情况,应符合规定。
表 4 最大理论输出力的百分数
| 缸径 mm | 最大理论输出力的百分数 |
| 6~25 | 70% |
| 32~320 | 80% |
2.4 耐压性能
试验在空载条件下进行,在气缸两端气口交替通入 1.5 倍公称压力的压缩空气,分别保压 1min,检查气缸各部位情况,应符合规定。
2.5 耐爆破压力验证
试验在空载条件下进行,在气缸两端气口交替通入 2 倍公称压力的液体介质,液体介质为日常生活用水,分别保压 1min,检查气缸各部位情况,如有异常,停止试验,做好记录;如无异常,试验压力按 1 倍公称压力递增,重复上述试验方法,直到试验压力为 4 倍公称压力为止,检查气缸各部位情况,应符合规定。
2.6 密封性能
在耐压试验后空载状态下进行,试验时保持气缸的静止状态,向气缸两端气口交替通入试验压力为 630kPa 和最低工作压力的压缩空气,如是缓冲气缸应打开其所有的缓冲调节阀,分别检查活塞部位的内泄漏和活塞杆部位和其他部位的外泄漏,泄漏情况应符合规定。
2.7 缓冲性能
在供气压力分别为 630kPa 和最低工作压力时,使气缸往复运动,调节缓冲节流装置,观察活塞在到达气缸两端之前的运行状况,应符合规定。
2.8 耐久性
试验回路见图 2。
在活塞杆的轴向方向施加相当于气缸最大理论输出力的 50% 的负载。在被试气缸两端气口交替通入公称压力的压缩空气,打开缓冲调节阀,调节排气口流量,使活塞平均速度达到 200mm/s 左右,活塞进行全行程往复运动,试验可连续或持续进行,其累计行程达到规定后,重复 2.1、2.2、2.3、2.6 试验项目的测试,仍应符合要求。

1——气源;2——三联件;3——换向阀;4——单向节流阀;5——被测气缸:6——加载装置。
图 2 负载、耐久性性能试验装置系统原理图
2.9 外观
气缸外观的检查方法,采用目测法和手感法进行,应符合规定。