本文内容摘自标准《GB∕T 15385-2022 气瓶水压爆破试验方法》第 6 章,替代 2011 版,标准自 2022 年 10 月 1 日正式实施!
气瓶水压爆破试验装置及配套仪器设备的基本要求。
1、试验装置基本要求
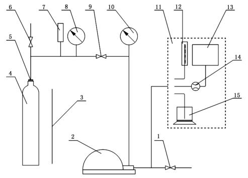
1.1 试验装置典型布置见图 1。
1.2 受试瓶的加压应选用柱塞泵、气动泵或其他具有稳定压力输出的加压装置,以水为加压介质。
1.3 加压装置的额定工作压力应满足气瓶水压爆破压力要求。加压装置应具有良好的密封性能和平稳的加压速率,其流量应能调节以满足受试瓶产品标准对加压速率的要求。
1.4 承压管道与试验装置、计量仪表的连接,应具有良好的密封。固定装设的承压管道应选用金属管。起减震作用的柔性连接可以选用高压软管。承压管道承压能力应满足气瓶水压爆破压力要求。

标引序号说明:1——进水阀;2——加压装置;3——安全防护措施;4——受试瓶;5——专用接头;
6——卸压阀;7——压力变送器;8——压力表;9——截止阀;10——加压装置前压力表;
11——水量测量仪表;12——量筒;13——试验用水水槽;14——流量传感器;15——电子天平。
图 1 试验装置典型布置图
1.5 试验装置应能自动、准确、实时地显示、记录和保存包括时间、压力和压入水量等在内的试验数据。实时存储的所有原始试验记录应不可更改。
1.6 试验装置应能自动生成和输出试验记录,试验记录应符合要求。
1.7 试验装置对压力和压入水量数据的采集频率应不低于 10次/s。
1.8 试验系统应采取适当的安全防护措施,以保证试验时操作人员和设备的安全。
2、测量仪表
2.1 压力测量仪表
2.1.1 试验装置上应安装一只压力表和一只压力变送器(或可输出压力信号的数字式压力表)。压力表用于实时显示试验压力,压力变送器(或可输出压力信号的数字式压力表)用于采集压力数据。压力表和压力变送器(或可输出压力信号的数字式压力表)的安装位置应能正确显示试验压力。
2.1.2 压力表量程应为受试瓶最小爆破压力的 1.5 倍〜3 倍,准确度等级应不低于 1.6 级;压力变送器(或可输出压力信号的数字式压力表)的量程应为受试瓶最小爆破压力的 1.5 倍〜3 倍,准确度等级应不低于 0.5 级。
2.1.3 压力测量仪表应定期进行检定或校准,检定或校准周期按有关规定执行。
2.2 水量测量仪器
2.2.1 水量测量仪器可用电子天平、量管、流量传感器或其他适宜的测量仪器。
2.2.2 电子天平的量程应满足试验需求,准确度等级和允许误差应符合 JJG 1036 规定的 Ⅲ 级的要求。气瓶公称容积大于 450L 的,检定分度值和实际分度值应不大于 10g;气瓶公称容积不大于 450L 的,检定分度值应不大于 5g,实际分度值应为 1g。
2.2.3 量管的量程应满足试验需求,且在该量程段上刻度值的相对误差,应不大于 ±1%。
2.2.4 流量传感器的量程应满足试验的需求,准确度等级应不低于 0.5 级。
2.2.5 其他水量测量仪器的量程和准确度等级应满足试验需求。
2.2.6 水量测量仪器应定期进行检定或校准,检定或校准周期按有关规定执行。
2.3 称量衡器
用于称量受试瓶质量的衡器,其最大称量应是常用称量值的 1.5 倍〜3.0 倍,允许误差应符合 JJG 539 规定的“中准确度级”的要求。
2.4 温度测量仪表
用于测定试验用水温度和试验环境温度的温度测量仪表,其最小刻度值应不大于 1.0℃。温度测量仪表应定期进行检定或校准,检定或校准周期按有关规定执行。
以上就是今天的分享!如果您对用于上述试验的气瓶水压爆破试验装置感兴趣,欢迎与我们联系!


