油嘴套按产品用途分为稠油油嘴套和稀油油嘴套。其中,稀油油嘴套按其结构形式又分为保温式油嘴套和非保温式油嘴套。其结构型式分别如图 1、图 2 和图 3 所示。今天我们来学习其压力试验的方法。

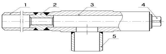
1——进油管短接;2——油嘴接头;3——三通;4——丝堵;5——出油管短接
图 1 稠油油嘴套结构示意图
1、压力试验要求:
油嘴套压力试验要求见下表 1:
表 1
最高(额定)工作压力(MPa) | 试验压力(MPa) | 保压期≥10min, 无可见渗漏和异常变形现象发生, 保压期间压降应不大于试验压力的5% | ||
| 嘴前 | 嘴后 | 保温套 | ||
| 16 | 36.7 | / | ||
| 25 | 37.5 | 3.75 | 3.75 | |
| 35 | 52.5 | 3.75 | 3.75 | |

1——进油管短节;2——压力表接管;3——油嘴接头;4——嘴后接管;5——丝堵;6——十字筋;7——出油管短接
图 2 稀油非保温式油嘴套结构示意图
2、压力试验方法
2.1 试验介质
清水。
2.2 试验温度
室温。
2.3 试验程序
压力从零升至预定的试验压力,稳压时间不少于 10min,然后降压至零。
2.4 验收准则
在规定的稳压期间内无可见渗漏和异常变形现象发生,稳压期间压降应不大于试验压力的 5%。

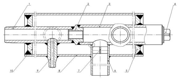
1——进油管短节;2——油嘴接头;3——嘴后接管;4——丝堵;5——后堵板;6——出油管短节;
7——十字筋;8——保温套;9——压力表接管;10——前堵板
图 3 稀油保温式油嘴套结构示意图
以上就是今天的分享!如果您对用于上述试验的油嘴套压力试验装置感兴趣,欢迎与我们联系!