钎焊式铜管管件(以下简称钎焊管件)是一种公称压力不大于 1.6MPa,公称通径不大于 DN300mm,用于输送生活用水(冷水、热水)、饮用水、燃气及对铜无腐蚀作用的其他介质铜管路用钎焊式管件。其检验内容包括:材料、外观、尺寸及公差、强度、密封性、爆破压力、连接性能及卫生要求等 8 项,对应的试验方法如下:
1、材料
钎焊管件的材料用检查钎焊管件所用材料牌号及质量证明书的方法进行检验,结果应符合要求。
2、外观
在日光或灯光照明下目测和相关量具检验钎焊管件外观,结果应符合的要求。
3、尺寸及公差
用精度符合极限偏差要求的通用量具检查钎焊管件的尺寸及公差,结果应符合要求。
4、强度
将钎焊管件装在强度试验台上,试验压力为 2.5MPa,持压 15s,试验介质为自来水,试验用压力表的精度应不低于 1.5 级,压力表的最大量程为 1.5 倍〜2.0 倍的试验压力,检查钎焊管件外表面,结果应符合要求。
5、密封性
将钎焊管件装在气密试验台上,将其浸没水中,充入纯净的压缩空气,用于气体介质的气密试验压力为 1.7MPa,用于液体介质的气密试验压力为 0.6MPa,持压时间均为 10s,检查钎焊管件连接部位,结果应符合要求。
6、爆破压力试验
爆破压力应不小于 6.4MPa,不用持压,升压至钎焊管件破坏为止,结果应符合要求。
7、连接性能试验
7.1 耐压试验
将钎焊管件两端与长度为 200mm 的铜管卡压连接,组成一组试样,进行耐压试验,试验介质为自来水,其试验压力为 2.5MPa,持压 1min,检查钎焊管件与铜管连接部位,结果应符合要求。
7.2 负压试验
应使用 3 个不同公称通径的钎焊管件分别与长度为 200mm 的等径管件卡压连接后构成一组试件,试验时,室温为(2O±5)℃,试验压力为 -80kPa,在该试验压力下,保持 1h 后,钎焊管件和铜管内压降应不大于 5kPa,检查钎焊管件与铜管连接部位,结果应符合要求。
7.3 拉拔试验
选用等径管件,两端与长度为 300mm 的铜管钎焊连接,组成一组试件,向管内封入 0.6MPa 气压,固定在拉伸试验机上。进行拉拔试验时,以 2mm/min 的速度进行拉伸,测定出现泄漏的最大拉伸力,此时的拉伸力应不小于 GB/T 8619-1988 第 4 章规定的断裂载荷。检查钎焊管件与铜管连接部位,结果应符合要求。
7.4 温度变化试验
温度变化性能试验装置如图 1 所示,此项试验应在(20±5)℃ 和(93±2)℃ 时用(0.1±0.01)MPa 内压来进行 5000 次循环变化,一个循环为(30±2)min,冷热水各保持 15min。在铜管外径大于 54mm 时,进行 2500 次循环变化,一个循环为(60±2)min。检查各连接部位,结果应符合要求。

图 1 温度变化试验装置
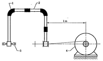
7.5 交变弯曲试验
交变弯曲试验装置见图 2,使用至少 3 个钎焊管件,管子跨距为 2m,在中间布置 1 个接头,在管端各布置 1 个转换接头,弯曲应力加在试验结构中部的接头上。试验时检查各部位连接是否完好,然后打开球阀,启动压力泵,等到压力表显示 1.5MPa 时,关闭球阀,启动调速电机,管子在中部连接范围内偏转 ±10mm。而且以 15Hz 持续 20s,停顿 2min。检验用 10 万次负荷变化来进行。检查各连接部位,结果应符合要求。

1——管子;2——夹紧接头;3——压力连接管。
图 2 交变弯曲试验装置
7.6 振动试验
振动试验装置见图 3,试件两端与长度为 200mm 的铜管钎焊连接,组成一组试样,在试件附近固定一端,并与水压试验泵连接,加压至 1.75MPa 并保压,试验介质为自来水。在试样的另一端端部进行振动,其振动条件应符合表 1 的要求。进行振动试验时,试验压力为 1.75MPa,在该压力下,持续 10 万次振动数,检查各连接部位。结果应符合要求。

1——试件;2——长度为 200mm 的管子;3——球阀;4——偏心轮。
图 3 振动试验装置
表 1 振动试验条件
| 项 目 | 条 件 |
| 振幅 | ±1mm |
| 振动频率 | 20Hz |
7.7 压力波动试验
钎焊管件两端与长度为 500mm 的铜管钎焊连接,组成一组试样,从 0.1MPa 加压至 2.5MPa 为一个循环,试验介质为自来水,每分钟应进行(30±5)个循环,持续 10 000 个循环时,检查钎焊管件和铜管连接部位,结果应符合要求。
8、卫生要求
用于输送饮用净水和生活饮用水的钎焊管件,其卫生要求的检验应符合《生活饮用水输配水设备及防护材料卫生安全评价规范》附录 A 的规定。
以上就是今天的分享!如果您对用于上述相关压力试验的装置(如耐压强度爆破试验机、密封性能检测设备、连接性能试验装置等)感兴趣!欢迎与我们联系!
