今天给大家带来的方法是关于井下油水旋流分离器的密封压力及标定分流比测试试验方法。
1、旋流分离器密封压力试验
1.1 试验介质及仪表
试验介质及仪表要求如下:
a)试验介质为清水。
b)试验装置及测试设备的耐压能力应不小于 40MPa。
c)压力计测量允许误差为 ±1.5%F.S.。
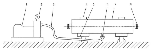
1.2 试验装置
试验装置示意图如图 1 所示。

1——高压泵源;2——压力计;3——高压软管;4——夹具;5——支撑座;
6——旋流分离器入口;7——旋流分离器;8——密封盘
图 1 旋流分离器密封压力试验装置示意图
1.3 试验方法
室温下,将旋流分离器整体作为试件,旋流分离器入口与高压泵源连接,溢流口和底流口密封。开启高压泵源,以不高于 5MPa/min 的升压速率打压,压力每升高 5MPa,稳压 5min,当压力计达到 25MPa 时切断高压泵源,稳压 30min,压降不超过 0.5MPa 视为合格。
2、旋流分离器标定分流比测试试验
2.1 试验介质及仪表
试验介质及仪表要求如下:
a)试验介质采用清水与油相介质的混合液,油相介质的密度为 850kg/m³~870kg/m³,运动黏度(100℃)为 10mm²/s~20mm²/s,混合液的含水率为 98%〜99%。
b)压力计、流量计测量允许误差为 ±0.5%F.S.。
c)测油仪测量允许误差为 ±0.5%F.S.。
2.2 试验装置
试验装置如图 2 所示。
2.3 试验方法
2.3.1 清水运转试验
打开溢流循环阀 11、底流循环阀 16 和水泵阀 21,关闭计量油泵阀 3、溢流排液阀 13 和底流排液阀 14,开启水泵 22 并调节变频器 20 至标定处理量,持续运转 10min,各仪表应工作正常,各管线、仪表及其连接处应无泄漏等异常情况。

1——油箱;2——计量油泵;3——计量油泵阀;4——静态混合器;5,10,18——流量计;6,12,17——取样阀;
7,9,19——压力计;8——旋流分离器;11,16——循环阀;13,14——排液阀,15——废液池;
20——变频器;21——水泵阀;22——水泵;23——水箱
图 2 旋流分离器试验装置示意图
2.3.2 分流比测定方法
清水运转试验正常后,打开溢流排液阀 13、底流排液阀 14、水泵阀 21 和计量油泵阀 3,关闭溢流循环阀 11 和底流循环阀 16,开启计量油泵 2。在旋流分离器标定处理量条件下开展试验。根据溢流流量计 10 和入口流量计 5 读数,按公式(1)计算分流比:
F=𝓠ol𝓠i*100% ........................................................(1)
式中:
F——旋流分离器分流比;
𝓠o——旋流分离器溢流口体积流量,单位为立方米每小时(m³/h);
𝓠i——旋流分离器处理量,即入口体积流量,单位为立方米每小时(m³/h)。
2.3.3 标定分流比测定方法
在标定处理量下调节溢流排液阀 13 和底流排液阀 14 的开度,使旋流分离器分流比在 0〜42% 范围内逐渐增大,分流比每增大 2% 即分别打开旋流分离器底流取样阀和入口取样阀取样一次,用测油仪对样品含油浓度进行测定。根据公式(2)进行分离效率计算,得出不同分流比对应的分离效率。
分离效率最高值对应的分流比F即为标定分流比 Fn。标定分流比 Fn 应符合要求。
η=[1-(1-F)Cd/Ci]*100% ........................................................(2)
式中:
η——旋流分离器分离效率;
Ci——旋流分离器入口含油浓度,单位为毫克每升(mg/L);
Cd——旋流分离器底流口含油浓度,单位为毫克每升(mg/L)。