汽车用机油滤清器(以下简称滤清器)进行液力脉冲耐久性试验的目的是为了检验滤清器在使用中承受发动机正常工作过程中周期性压力变化的能力,今天我们就来学习关于滤清器液力脉冲耐久性试验的方法,方法适用于全流和分流滤清器。
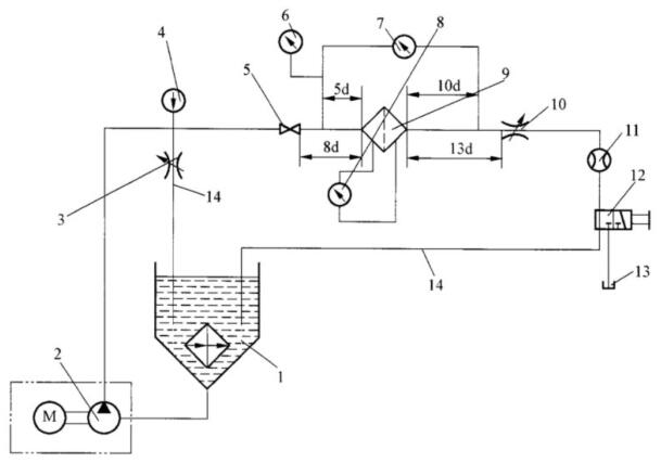
1、试验设备及仪器、仪表、器具见图 1。

1——试验油箱,容量 60L;2——带可变速电机的机油泵;3——调节阀(调行压力用);4——与温度指示仪连接的温度传感器;
5——开关阀;6——压力表;7——测量滤清器压差的差压计或两只单独压力表;8——测量滤芯压差的差压计(量程:400kPa)或两只单独压力表;9——被试滤清器;10——调节阀(调节流量用);11——流量计;
12——二位三通取样阀;13——量筒(容量:500mL);14——其他管道内径:应与流量计进出口相匹配
图 1 滤芯旁通阀特性试验的试验台布置图
2、试验油采用 CC 30-GB 11122 柴油机油,试验油温度按 2.1 的规定。
2.1 试验油
除特别指定试验用油的试验项目外,其他试验项目均按以下的规定选用试验油:如模拟发动机正常工作条件,应选用运动粘度为 24mm²/s 的机油(例如选用 GB 11122 的 CC 30 机油、ISO VG 100、SAE 30 机油,在温度为 74℃±2℃ 时试验;或 ISO VG 150、SAE 40 机油,在温度为 83℃±2℃ 时试验)。如模拟发动机冷态工作条件,应选用运动粘度为 500mm²/s 的机油(例如选用 ISO VG 460 的机油,在温度为 38℃±2℃ 时试验;或选用 SAE 140 机油)。ISO 和 SAE 机油的粘度分类按 ISO 3448:1992 和 ANSI/SAE J300—1993。
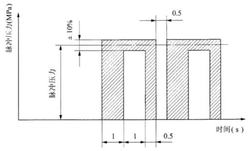
3、脉冲压力波形要求见图 2 。

图 2 液力脉冲波形图
4、试验程序。
4.1 将被试滤清器按要求安装在图 3 所示的试验装置上,流清器需按规定的扭矩拧紧。

1——油箱;2——油泵;3——进油压力控制阀;4——压力表;5——温度计;6——被试滤清器;
7——电磁阀;8——电磁阀计时器和计数器,用于操纵电磁阀;9——出油压力控制阀;10——热交换器
图 3 冷启动模拟与液力脉冲耐久性试验的试验装置
4.2 打开进油压力控制阀,并使出油压力控制阀及电磁阀处于全开状态。
4.3 启动油泵,使试验台运转,排尽系统中的空气。关闭电磁阀,操作进油压力控制阀,使压力达到商定的数值。如未商定,则应选用表 1 给出的参数值。
表 1 冷起动模拟试验和液力脉冲耐久性试验参数表

4.4 接通电磁阀,使压力波形达到图 2 所示的要求,操作出油压力控制阀,使压差保持在 10kPa~20kpa 范围内,以避免出口压力为负值,试验时应采用示波器或其他显示压力波形及时间的装置监测压力波形。
4.5 打开热交换器,保持油箱中的试验油温度稳定,使试验油的粘度符合 2.1 的要求。
4.6 将计数器置于零位,打开电磁阀的计时器和计数器开始试验。
4.7 试验过程中,应经常目测滤清器有无损坏迹象,直至滤清器发生损坏或达到供需双方商定的参考值。如未商定,则应选用表 1 规定的试验参数值进行试验。
4.8 关闭电磁阀计时器和计数器,关闭油泵和电磁阀,停止试验后,将进油压力控制阀完全打开。
4.9 检查并记录拧紧力矩(按拧紧方向旋转)。
4.10 卸下滤清器,沥干试验油。用目测检查滤清器,确定有无破损;对出现破损的滤清器,应确定破损部位及损坏形式。
5、试验原始记录。
试验原始记录至少包括下列内容:
a)被试滤清器型号和制造单位;
b)被试滤清器有无损坏,损坏滤清器的破损部位和损坏形式;
c)被试滤清器完成液力脉冲的循环次数或被试滤清器在损坏前完成液力脉冲的循环次数;
d)液力脉冲试验的试验油压力峰值;
e)试验人员和试验日期。
以上就是今天的分享!如果您对用于上述试验的滤清器液力脉冲耐久性试验装置感兴趣,欢迎与我们联系!
