原理:烃源岩中的有机质及干酪根、煤岩、原油等有机质,其受热生成油气的过程符合阿伦尼乌斯公式,即反应程度与反应温度和反应时间成正相关,因此可以利用实验室热模拟设备的高温、快速的实验条件,来模拟地层中有机质在慢速、低温条件下的生烃过程。本实验装置利用黄金的化学反应惰性与可塑性,将封闭的黄金管作为含有机质样品进行热解反应生成烃类物质的容器。实验样品在氩气保护下封入黄金管,将其放置在高压釜中,通过高压泵向高压釜内充入高压水对黄金管外壁施加压力,利用黄金的可塑性传递压力,对样品及其产物施加一定的压力。按照一定升温速率,利用电炉加热高压釜中的黄金管与样品,加热至设定的温度点时,从电炉中取出高压釜终止热解生烃反应。黄金管中所生成的气液产物分离后,用气相色谱法分别分析气体与轻烃的组分,用内标法进行定量,用重量法定量热解沥青,依据称样量分别计算气体各组分、轻烃和热解沥青的产率值。
生烃热模拟实验流程:
1、黄金管制备
根据装入模拟实验样品的类型与质量以及模拟实验温度,确定黄金管的长度和直径。不同样品的装样量及金管尺寸见表 1。按一定长度切好的黄金管放置在箱式电阻炉中,在 850℃ 的温度下加热 10h。加热过的黄金管用扁口钳将一端夹扁,用氩弧焊机将夹扁的一端焊封。用放大镜观察焊口,不存在砂眼、裂隙的为合格。将合格的黄金管称重(设为 W1)、编号待用。
2、样品准备
2.1 岩石和干酪根样品
具体称样量可见表 1。
2.2 原油样品
在常温下可流动的原油不必处理可直接装样;常温下不可流动的原油宜用一定体积的二氯甲烷稀释,在密闭冷冻条件下保存待用。具体称样量见表 1。
表 1 不同类型样品的称样量与黄金管大小参考值
| 样品类型 | 黄金管内径 mm | 黄金管长度 mm | 模拟温度 ℃ | 装入样品量 mg |
| 岩石 | 5.5 | 60 | 300 | 800〜1200 |
| 岩石 | 5.5 | 60 | 400 | 800〜1200 |
| 岩石 | 5.5 | 60 | 500 | 500~800 |
| 岩石 | 5.5 | 60 | 600 | 300~500 |
| 干酪根 | 4 | 40 | 300 | 100~150 |
| 干酪根 | 4 | 40 | 400 | 100~150 |
| 干酪根 | 4 | 40 | 500 | 50~70 |
| 干酪根 | 4 | 40 | 600 | 30~50 |
| 原油 | 4 | 40 | 300 | 100 |
| 原油 | 4 | 40 | 400 | 100 |
| 原油 | 4 | 40 | 500 | 30 |
| 原油 | 4 | 40 | 600 | 15 |
3、装样
3.1 岩石和干酪根样品
将已称重的黄金管直立(已焊封的一端向下),通过小型漏斗把已称重的岩石和干酪根样品装入黄金管中,并称重(设为 W2)。管壁不应沾染样品。
3.2 原油样品
将已称重的黄金管直立(已焊封的一端向下),用玻璃注射器抽取定量的原油或用二氯甲烷稀释的原油,注入黄金管。管壁不应沾染样品。装有稀释原油样品的黄金管在烘箱中 35℃ 的温度下放置 24h,然后每间隔 4h 时称重一次直至恒重(设为 W2)。
3.3 样品质量的确定
黄金管装好样品后,称重样品及黄金管的总重,样品质量的计算见公式(1)。
W=W2-W1.................................(1)
式中:
W——样品质量,单位为毫克(mg);
W1——黄金管质量,单位为毫克(mg);
W2——样品加上黄金管质量,单位为毫克(mg)。
4、黄金管的焊封与检漏方法
4.1 焊封方法
4.1.1 将集气罩从箱体上移开,然后将装有样品的多个黄金管直立放入支架的插孔内;再向箱体内加入 20mm~30mm 深度的水,使水面刚好达到黄金管的中下部,最后将集气罩重新盖在箱体上。
4.1.2 打开氩气进管上的流量调节阀,使氢气充满箱体的内部空间,并保持氩气流量约 15min,在此过程中,可使黄金管及样品间隙中的空气排出。
4.1.3 再度将集气罩从箱体上移开,由于氩气的密度比空气大,同时氧气进管内有持续的氩气流出,空气不会进入到箱体内,用平口钳把黄金管的上端捏扁,并用氮弧焊枪逐一焊接密封。
4.1.4 将焊好的黄金管擦干后,称重(设为 W3)。
4.2 黄金管检漏方法
在 500mL 玻璃烧杯中加入约 300mL 水,加热至约 80℃,将焊好的黄金管放入热水中,观察有无气泡从黄金管中逸出。如有气泡说明黄金管有砂眼或裂缝,该黄金管泄漏,作报废处理。未观察到气泡的黄金管,擦干后称重,设为 W4,W4 与 W3 的质量差应在天平的正常误差范围内,否则说明黄金管泄漏,作报废处理。

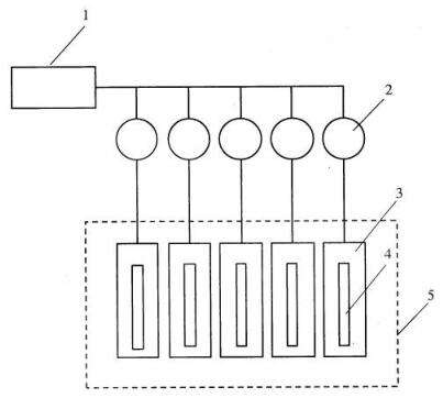
1——高压泵;2——阀门;3——高压釜;4——金管;5——电炉
图 1 黄金管生烃热模拟实验装置结构示意图
5、热模拟实验步骤
5.1 装有样品的黄金管放置在高压釜内,通过高压泵向高压釜内充水,水压在 20MPa~200MPa 之间,视地层压力而定。各个高压釜用管道采用并联方式连接,保证每个施压釜内的压力一致。高压水使黄金管被压扁,进而对黄金管中的样品施加压力。通过压力及温度控制系统使实验中的高压釜保持设定的温度和压力。在加热到设定的温度和时间后,停止加热,将该高压釜从电炉中取出,迅速投入冷水中。待高压釜冷却后将黄金管从高压釜中取出。
5.2 用于生烃动力学研究的热模拟实验,至少应设置两条程序升温曲线。首先从室温快速升至 200℃,然后以某个设定的升温速率升至所需模拟温度;相邻的模拟温度点间隔不大于 24℃,每条升温曲线包含的模拟温度点(金管数)不少于 12 个。
5.3 黄金管加热后是否合格的判别方法:加热过的黄金管外观应无明显的裂痕、孔洞及油的渗漏痕迹,否则判为不合格。外观完好的黄金管清洁干燥后称重,加热前后质量差值小于或等于 1mg 为合格,否则判定黄金管已泄漏,应重做。