易熔塞装置 fusible plug device,是一种通过塞孔内的易熔合金的流动或熔化而进行动作、不可重复启闭、可拆卸的压力泄放装置。 在正常情况下塞孔处于关闭状态,在给定温度下塞孔内的易熔合金流动或熔化,将瓶内介质放出使气瓶泄压。今天我们来学习关于气瓶用易熔合金塞装置(以下简称"易熔塞装置")的检验和试验方法及验收规则。
1、塞体外螺纹的检验
用量规逐个对塞体外螺纹进行检验,塞体外螺纹应符合所采用标准的要求,经检验不合格的塞体不得用于灌注易熔合金。
2、易熔合金流动温度试验
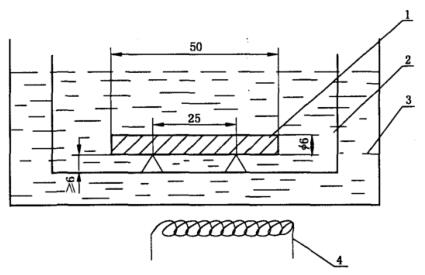
2.1 从每炉易熔合金中任选两个试样进行试验,试样直径为 6mm,长度为 50mm。
2.2 将试样水平支撑在距离为 25mm 的刀口上,两端在刀口外各伸出 12.5mm,然后浸入内甘油槽,其温度由外甘油槽控制,试验装置见图 1。
| 单位为毫米 | ||
![]() |
说明:1——易熔合金试样;2——内甘油槽;3——外甘油槽;4——加热器。
图 1 易熔合金流动温度试验示意图
2.3 两试样应同时进行试验,将测温用的温度计或测温仪插入甘油浴中,放在两个试样中间,使温度计的球泡或测温仪与试样保持同一水平,甘油浴的升温速度不超过 2℃/min,直至升到甘油浴的温度为易熔合金最低流动温度以下 6℃。
待甘油浴的温度在该温度下稳定后,甘油浴的温度以不超过 0.6℃/min 的速度继续升温,至易熔合金熔断。试验时可搅动甘油以使温度均匀。
2.4 验收规则
两个试样的四个支点中第二个熔断端部熔断时的温度,即为易熔合金的流动温度,易熔合金的流动温度和偏差范围应能满足要求。
3、易熔塞装置试验
3.1 组批和试验的一般规定
3.1.1 易熔塞装置应以不大于 3000 个为一批。
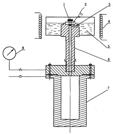
3.1.2 从每批易熔塞装置中任选两个试样,按 3.2 和 3.3 的规定先后进行试验,试验时温度计或测温仪尽量靠近易熔塞装置,试验装置见图 2。

说明:1——易熔塞试样;2——测温仪;3——测温连通孔;4——加热器;
5——甘油槽;6——压力通道;7——空气罐;8——压力表。
图 2 易熔塞装置试验示意图
3.2 易熔塞装置抗挤出试验
3.2.1 用于公称工作压力小于或等于 3.45MPa 气瓶上的易熔塞装置抗挤出试验:在试样与气瓶内部介质接触的一端施加压缩空气,试验压力为 3.45MPa,并在不低于 60℃ 的条件下保持 24h,然后在另一端进行检查,无渗漏和易熔合金无可见挤出为合格。
3.2.2 用于公称工作压力大于 3.45MPa 且不大于 30MPa 气瓶上的易熔塞装置抗挤出试验:在试样与气瓶内部介质接触的一端施加压缩空气,试验压力不得小于气瓶水压试验压力的 70%,并在不低于 82℃ 的条件下保持 24h,然后在另一端进行检查,无渗漏和易熔合金无可见挤出为合格。
3.2.3 对于公称工作压力大于 3.45MPa 且不大于 30MPa 气瓶上的易熔塞装置,新设计的每一规格的易熔塞装置,在投产前应任意选取三个有代表性的试样,在不低于 82℃ 的条件下进行下列试验:
试样应在 2.1MPa 和 70% 的气瓶水压试验压力之间以不超过 4 次/min 的速率进行疲劳试验,26 000 次后试样应无渗漏和易熔合金无可见挤出。
然后,将试样在 70% 的气瓶水压试验压力下保持 500h,试验后无渗漏和易熔合金无可见挤出为合格。
3.3 易熔塞装置动作温度试验
将按 3.2 规定试验合格的两个试样拧紧在支座上,与气瓶内部介质接触的一端朝下,并对该端通入压缩空气,其压力不得小于 0.02MPa。与此同时,将试样浸在甘油槽内,甘油浴的温度应在规定的最低动作温度以下 3℃ 以内,在此压力和温度下保持至少 10min,应无渗漏。
然后升高甘油浴的温度,升温速率不超过 0.6℃/min。在此期间,压力可以增加到不超过 0.35MPa。当试样中的易熔合金挤出使空气泄漏时,记下此时甘油浴的温度作为易熔塞装置的动作温度。试验时易熔合金挤出应发生在最高允许动作温度已经达到和稳定后的 10min 内,该温度和偏差范围应符合要求。
3.4 验收规则
两个试样均应符合 3.2 和 3.3 的要求,该批为合格。若两个试样中有一个不合格,则应从同一批中再任选四个试样进行试验,四个试样中只要有一个仍达不到要求,该批报废。
4、易熔塞装置气密性试验
易熔塞装置应逐个进行气密性试验,试验介质采用空气,试验压力为相应气瓶公称工作压力的 1.25 倍,保压时间应不小于相应气瓶气密性试验的保压时间,无渗漏为合格。