高压水管楔式快速接头(以下简称“快速接头”)主要用于水力采煤矿井井下和地面输送高压水管路的连接,也适用于一般矿井输水管的连接。今天我们来学习该型快速接头水压强度及密封性能的试验方法。

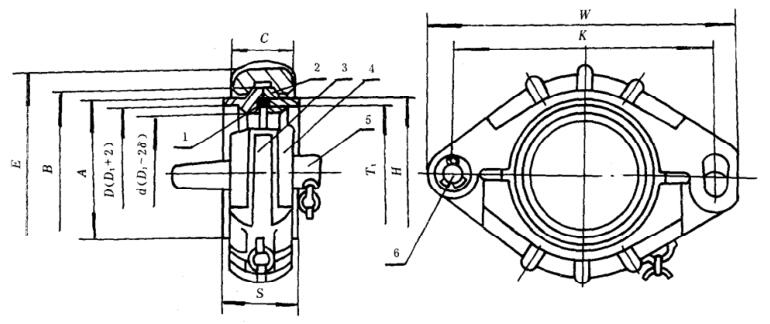
1——密封圈;2——接头;3——单耳卡套;4——双耳卡套;5——楔子;6——销轴
图 1 快速接头
1、水压强度试验
1.1 技术要求
双耳卡套、单耳卡套按 1.5 倍公称压力进行水压强度试验,稳压 5min,不得渗水、漏水,不得有残余变形。
1.2 试验方法
快速接头的卡套进行水压强度试验时,先把双耳卡套、单耳卡套卡紧在试验台的接头上,再将腔内的空气尽量排出,逐渐提高压力至 1.5 倍公称压力值,不允许压力突变的增加;稳压 5min,不得渗水、漏水,不得有残余变形。
2、密封性能试验
2.1 技术要求
快速接头的密封性,需在不低于 1.1 倍公称压力下稳压 4h,不得有渗漏现象。
2.2 试验方法
被试快速接头,在不低于 1.1 倍公称压力下,进行稳压试验,稳压 4h,不得渗水、漏水。
以上就是今天的分享!如果您对用于上述试验的快速接头水压强度及密封性能试验台感兴趣,欢迎与我们联系!
