今天给大家带来的分享是关于气动调压阀可靠性评估的试验条件、试验程序的内容,适用于直动式调压阀和外部先导式调压阀, 包含溢流型和非溢流型调压阀。
1、试验条件
1.1一般试验条件
一般试验条件应符合 ISO 19973-1 的规定。
1.2 进口压力和调节压力
1.2.1 被测元件的进口压力应为 800kPa±40kPa 或最大进口压力,选两者的较小值。
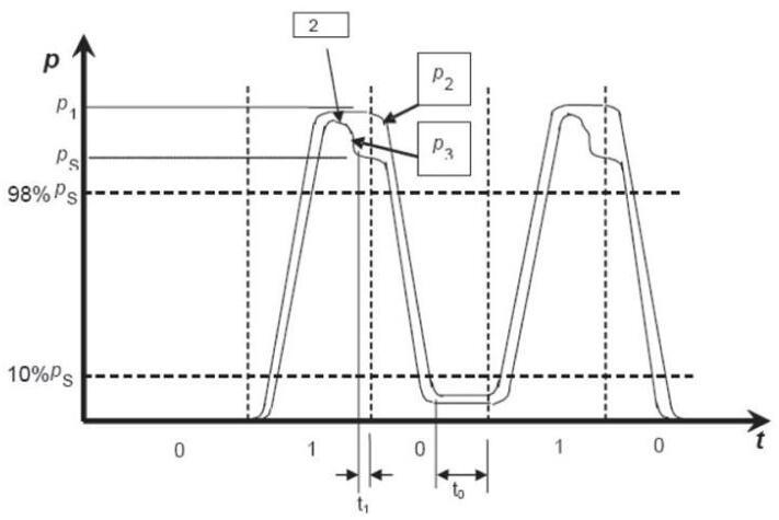
1.2.2 调节压力的设定值应为进口压力的(80±5)%,或制造商规定的最大进口压力的(80±5)%,取两者的较小值(见图 1)。设置调节压力值时,应从小到大调节。如果压力超过所要求的设定值,应先降低压力至设定值以下,再从小到大调节压力。设定值不应通过逐渐减小调节压力的方式获得。
1.2.3 为了补偿测试前的初始漂移,应在连续运转 24h 后,将被测元件的设定值调整至 1.2.2 中所述的条件,并将此重置压力记录为初始设定压力。
2、试验程序
2.1 检查和测量的时间
2.1.1 在耐久性试验之前、耐久性试验过程中确定的测量间隔和被测元件从试验中移除后,都应进行下列检查和测量:
a)按照 2.2.1 进行功能检查;
b)按照 2.2.2 测量设定压力和泄漏。
2.1.2测量间隔应符合 ISO 19973-1 的规定。
2.2 检查和测量的类型和范围
2.2.1 功能检查
在试验过程中,应进行听觉、视觉和触觉检查,以确定被测元件和换向阀工作是否正常。功能检查是为了确定是否有切换失效、充气和出口放气不充分的情况发生,是否有可听到或可感觉到的泄漏。若检查通过,按照 2.2.2 进行试验。否则,记录异常特征。
2.2.2设定压力和泄漏测量在每个测量间隔(由 2.1.2 确定),打开换向阀并稳定温度,记录设定压力值。在 1.2.1 规定的进口压力下,每隔 2min 测量并记录总泄漏量(内泄漏和外泄漏之和)。泄漏量由进口前的流量计测量。在试验过程中不应调节被测元件的压力。
2.3 耐久性试验
2.3.1 按照以下要求确定的循环周期操作换向阀:
a)试验开始前,记录在压力周期内被测元件出口的最大和最小压力值(表压 p3)。
b)确保被测元件出口的最大压力值不小于初始设定压力的 98%,最小压力值小于初始设定压力的 10%(见 1.2.3)。
c)调整换向阀的时间周期以实现上述条件,并保持 t1 和 t0 尽可能小。
d)试验过程中应保持固定周期,不应调整该周期或设定值。
e)在测试过程中间隔性重复步骤 a)的压力测量。
图 1 提供了一个典型的压力循环曲线说明。

说明:p——压力;t——时间;
0——换向阀处于失电状态的时间周期;1——换向阀处于得电状态的时间周期;2——可能产生的压力超调;
t1,t0——压力切换的停留时间;
p1——进口压力;p2——被测元件的进口压力曲线;p3——被测元件的出口压力曲线;ps——被测元件的设定压力曲线。
图 1 耐久性测试中典型的压力循环曲线
2.3.2 在试验过程中,应定期按照 2.2.1 的规定检查被测元件和换向阀,确保它们处于正常运转。如果被测元件在连续观察之间失效,应按照 ISO 19973-1 计算其终止寿命。
以上就是今天的分享!如果您对用于上述可靠性评估试验的相关试验装置(如耐久性测试设备等)感兴趣,欢迎与我们联系!