今天给大家带来的分享是关于液压制动软管总成的屈挠疲劳试验方法。该方法适用于汽车(含摩托车)及挂车使用的液压制动软管及制动软管接头和制动软管总成进行屈挠疲劳性能试验。
1、试验设备
试验设备主要由转动部分和固定部分组成,设备示意图见图 1。转动部分由可动水平连杆及转盘组成,可动水平连杆的两端通过轴承垂直安装在转盘上,转盘的中心与轴承的中心相距 101.6mm,固定部分为可调的非动水平连杆,非动水平连杆平行于和转盘中心在同一水平面内的可动水平连杆,两个水平连杆上都装有可平行安装制动软管总成的若干个接头。转盘以 800r/min±10r/min 的速率旋转时,固定在可动水平连杆上的制动软管端部也以此速率转动,形成 203.20mm±0.25mm 的圆形轨迹,而制动软管的另一端则固定不动。可动水平连杆上的接头是封闭的,而非动水平连杆上的接头应与液压源连通,试验设备的液压源容积及管路设置不允许影响试验结果,试验中当制动软管损坏而压力下降到设定值时,试验设备应能够自动停机,同时记录运转时间及停机时管路中的系统压力。
2、试验准备
试验准备如下:
a)拆除外部的附件,如护套、安装支架和日期环带等;
b)将软管总成置于垂直状态,在软管总成的下端悬挂 576g±3g 的砝码,用一游标卡尺或类似的量尺测量软管总成的自由长度,并予以记录,精确到 0.5mm;
c)将制动软管总成安装在屈挠疲劳试验机上,其最小自由长度及松弛量应符合表 1 中规定的数值,并测量如图 2 所示平行于转盘轴线的投影长度。
表 1 自由长度和松弛量 (单位为毫米)
| 公称内径 | 自由长度 | 松弛量 |
| ≤3.2 | 200~400 | 44±0.4 |
| >400~480 | 32±0.4 | |
| >480~600 | 19±0.4 | |
| >3.2 | 250~400 | 25±0.4 |

说明:1——转盘;2——可动水平连杆;3——固定水平连杆。
图 1 屈挠疲劳试验机示意图

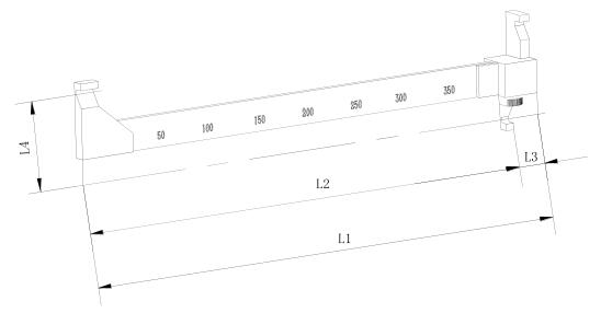
说明:L1——自由长度;L2——屈挠疲劳试验长度;L3——松弛量;L4——100mm。
图 2 松弛量调整装置
3、试验程序
试验程序如下:
a)对管路系统施加静压力为 1.62MPa±0.10MPa 的规定试验介质,并从系统中排出所有气体;
b)驱动转盘,使其以 800r/min±10r/min 的速率旋转;
c)当制动软管总成因泄漏引起压力下降时,应终止试验,记录制动软管总成压力下降时的运转时间和压力,该运转时间为屈挠疲劳寿命时间。
以上就是今天的分享!如果您对用于上述试验的液压制动软管总成屈挠疲劳试验机感兴趣,欢迎与我们联系!
