今天给大家带来的分享是关于液压用织物增强型塑料软管及软管组合件(以下简称“软管组合件”)爆破压力及泄漏试验方法。方法广泛适用于公称内径 5mm~25mm 范围内的两种型号(R7 与 R8)的液压用织物增强型热塑性塑料软管及软管组合件进行爆破压力及泄漏试验。
1、爆破压力试验
按照规定的速度升高压力,直至软管和软管组合件破坏,在试验报告中应记录下软管爆破的位置和状态。
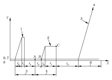
试验步骤的说明,见图 1。

说明:X——时间,t;Y——压力,p(MPa 或 bar);
1——验证压力;2——试验压力;3——泄露和缺陷的检测;4——测量;5——爆破压力;6——爆破;
t0——规定压力增加时间;t1——规定压力保持时间;
t2——在参考压力(0.07MPa)下初始尺寸(长度和直径)时测量时间;
t3——不同压力下规定的等待时间;a——爆破。
此完整试验程序(验证压力——试验压力——爆破压力)仅适用于"型式试验"。对于例行试验,验证压力后的“测量结果”仅适用于当相关软管制品标准有规定时。
测量初始长度和直径或周长,并标出扭转测量时A和B点之间的参考标记。在 C 点前直接测量长度、直径或周长、扭转和弯曲的增加。
图 1 标准规定的静液压试验程序
表 1 最大工作压力、验证压力和最小爆破压力
| 公称内径 | 最大工作压力 /MPa | 验证压力 /MPa | 最小爆破压力 /MPa | |||
| R7 型 | R8 型 | R7 型 | R8 型 | R7 型 | R8 型 | |
| 5 | 21.0 | 35.0 | 42.0 | 70.0 | 84.0 | 140.0 |
| 6.3 | 19.2 | 35.0 | 38.5 | 70.0 | 77.0 | 140.0 |
| 8 | 17.5 | - | 35.0 | - | 70.0 | - |
| 10 | 15.8 | 28.0 | 31.5 | 56.0 | 63.0 | 112.0 |
| 12.5 | 14.0 | 24.5 | 28.0 | 49.0 | 56.0 | 98.0 |
| 16 | 10.5 | 19.2 | 21.0 | 38.5 | 42.0 | 77.0 |
| 19 | 8.8 | 15.8 | 17.5 | 31.5 | 35.0 | 63.0 |
| 25 | 7.0 | 14.0 | 14.0 | 28.0 | 28.0 | 56.0 |
2、泄漏试验
2.1 试样
泄漏试验用试样应为未老化的软管组合件,其管接头装配的时间不能超过 30d,也不能少于 1d。
2.2 程序
试验组合件承受规定的静态压力应是其最小爆破压力值的 70%。保持该试验压力 5min±0.5min,然后释压至零。再施加该规定试验压力,并保持 5min±0.5min。此试验视为破坏性试验,试验后组合件试样应废弃。
2.3 损坏的依据
不应有泄漏或破坏的迹象。
在管接头处泄露、管头拔脱或靠近管接头处软管破裂都视为该组合件本身的质量问题。
注:此破坏并不一定表明更换管接头后该软管仍不符合规定的要求。
以上就是今天的分享!如果您对用于上述试验的软管组合件爆破压力试验装置及泄漏试验装置感兴趣,欢迎与我们联系!
