我们注意到,在最新版的《GB 16897 制动软管的结构、 性能要求及试验方法》的“征求意见稿”版本中,增加了“气压制动橡胶软管总成的挠曲疲劳试验技术要求及试验方法”,今天我们把这块内容提前“剧透”,和大家共同来学习学习。
1、试验装置
试验装置如下:
a)由挠曲循环部分和压力循环部分组成;
b)挠曲循环部分由移动部分和固定部分组成。移动部分控制软管总成“移动端”水平往复移动,移动频率为 1.7Hz±0.1Hz。固定部分可固定软管总成的“固定端”,试验装置如图 1;
c)压力循环部分能够向软管总成内施加循环空气压力,可实现加压和泄压过程的交变进行,在整个试验期间保持连续的压力循环;
d)试验装置气压输出部分与连接软管总成的管路之间应安装一节流孔,其孔径为 Φ1.60mm,厚度为 0.8mm;
e)能够测量软管总成内部压力及节流孔前端的压力,同时能调整气压源到节流孔的压力为 1MPa±0.1MPa。
2、试样预处理
试样预处理如下:
a)按表 1 规定的软管自由长度准备挠曲疲劳试样;
b)封堵试样接头,按规定进行接头耐腐蚀性试验;
c)完成接头耐腐蚀性试验后的试样在 168h 以内,按规定完成耐热性试验;
d)完成耐热性试验后的试样在室温下冷却 2h,应在 166h 以内完成挠曲疲劳试验。

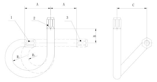
说明:1——样件移动端极左位置;2——固定端;3——样件移动端极右位置。
图 1 软管屈挠疲劳试验装置示意图
3、试验程序
试验程序如下:
a)将预处理后试样的“固定端”固定在挠曲疲劳试样台上,并连接好气压源,试样的“移动端”连接在挠曲疲劳试样台可移动的工装上并封堵。软管总成安装时按其自然弯曲进行连接,不应出现任何外力下的扭曲,软管总成空间安装位置尺寸见表 1;
b)调整设备输出气压,提供 1.0MPa 压力至节流孔。开始对试样气压循环设定:加压从 0MPa 升至 1.0MPa 保持 60s±5s,泄压从 1.0MPa 降至 0MPa 保持 60s±5s;
c)启动挠曲循环部分,试样的“移动端”从如图 1 所示极左位置水平移至极右位置,再从极右位置水平移至极左位置,“移动端”一个往复记为一次,累计进行 100 万次软管疲劳试验。“移动端”往复位移为 150mm±3mm,试验频率为 1.7Hz±0.1Hz;
d)试验结束后,对软管总成施加压力为 1.0MPa±0.07MPa 气压,保持 120s±10s,观察软管总成试样是否泄漏。
表 1 公称内径、自由长度及空间安装位置 (单位为毫米)
| 公称内径 | 自由长度 | 空间安装位置 | |||||||
| 移动端极左位置 | 移动端极右位置 | ||||||||
| A | B | C | R1a | A | B | C | R2a | ||
| 5、6 | 255 | 75 | 70 | 95 | 34 | 75 | 70 | 95 | 30 |
| 8、9、10、12 | 280 | 75 | 90 | 115 | 43 | 75 | 90 | 115 | 33 |
| 12.5、16 | 355 | 75 | 100 | 125 | 56 | 75 | 100 | 125 | 46 |
a 参考值,软管弯曲的平均半径。 | |||||||||
以上就是今天的分享!如果您对用于上述试验内容的气压制动橡胶软管总成的挠曲疲劳试验装置(此试验项目的测试设备方案我司工程师已连夜研发出来)感兴趣,欢迎与我们联系!
