今天给大家带来的分享是关于液压管接头的振动性能试验方法。除非在各管接头标准中另有规定,应按以下规定的步骤对六个试验组件进行试验,以确定管接头是否能经受规定的振动、没有泄漏或元件失效。对于通径 51mm 或更大的法兰组件和管外径尺寸为 50mm 或更大的管接头,如果设计经过了计算或有限元分析校核,则对三个试验组件进行试验即可。
注:通过计算或有限元分析校核是指有正式计算书或报告。
1、液压管接头振动试验步骤:
1.1 振动试验应按照表 1 和 1.2~1.7 的规定进行。
表 1 振动试验的参数和步骤
试验参量 | 参数值和试验步骤 |
试验介质 | 符合 ISO 6743-4 的液压油(如 HM),其黏度符合 ISO 3448 的黏度等级 32;或水。 试验介质应记录在试验报告中。 |
试验压力 | 被试管接头的最高工作压力 |
试验弯曲应力水平 | 管子最小屈服强度的 25% a |
试验振动频率 | 10Hz~50Hz |
试验持续时间 | 最少 1000 万次振动循环 |
判定标准 | 在试验期间,不得出现任何泄漏或失效 |
a 在确定试验采用的应力水平时,对使用最小屈服强度超过 235MPa 的管子,需要考虑其动态能力。 | |
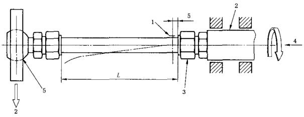
1.2 按图 1 所示准备试验组件。应变片应安装在图 1 指定的位置。最小测量长度L应符合表 2 的规定。
1.3 如图 1 所示,将试验组件安装在能提供旋转或轴平面内振动的试验装置上。
1.4 给试验组件加压至管接头最高工作压力。
1.5 在与应变片相对的管子末端施加弯曲载荷,直至复合轴向应力达到管子最小屈服强度的 25%。
表 2 振动试验的最小测量长度单位为毫米
| 管外径 X | 最小测量长度 L |
| X≤20 | 250 |
| 20<X≤50 | 250 或 8X,取大值 |
| X>50 | 400 或 8X,取大值 |

1——应变片;2——驱动端;3——试验组件;4——固定端;5——液压油或水进口。
a)旋转或平面振动试验组件和装置

1——应变片;2——驱动端;3——试验组件;4——液压油或水进口;5——载荷作用位置。
b)可选择的旋转振动试验组件和装置
图 2 振动试验组件和装置
1.6 给试验组件施加 10Hz~50Hz 的振动,直至其失效或达到 1000 万次循环,无论哪种情况先发生。
1.7 如果试验组件在达到 1000 万次循环前出现失效,记录达到的循环次数和失效类型。
2、元件再利用
经过该项试验的元件不应再进行其他试验,不得用于实际使用或返回库存。
以上就是今天的分享!如果您对用于上述试验的液压管接头振动性能试验装置感兴趣,欢迎与我们联系!
