塑料软管及软管组合件(液压用织物 增强型,以下简称软管)是指公称内径在 5mm~25mm 范围内的两种型别的液压用织物增强型热塑性塑料软管及软管组合件。 根据导电性要求, 每种型别分成两个等级。 它们适用于:
——液压流体 HH、HL、HM、HR和HV(如 GB/T 7631.2 所定义), 温度范围为 -40℃~100℃。
——水基液压流体 HFC、HFAE、HFAS 和 HFB, 温度范围为 0℃~60℃。
表1 最大工作压力、 验证压力和最小爆破压力

今天我们来学习关于该型软管的脉冲性能试验,该型软管的脉冲试验属于无曲挠脉冲试验,具体的试验要求及试验方法见以下内容:
1、软管脉冲性能要求
1.1 脉冲试验应按 GB/T 5568 进行。试验流体温度应为 100℃。
1.2 对于 R7 型软管, 在等于 125% 最大工作压力的脉冲压力下进行试验时, 软管应承受至少 150 000 次脉冲。对于 R8 型软管,在等于 133% 最大工作压力的脉冲压力下进行试验时, 软管应承受至少 200 000 次脉冲。
1.3 在达到规定的脉冲试验次数之前, 软管不应出现泄漏或其他故障。
1.4 本试验应被视为破坏性试验, 试验后的试样应废弃。
2、软管脉冲性能试验方法
2.1 脉冲试验装置
2.1.1 加压装置
能使液压流体循环通过试样,并以(1±0.25)Hz 的频率对试样施加内脉冲压力,同时保持该流体在所要求的试验温度下,每一压力周期应在图 2(高压试验)和图 3(低压试验)所示的公差范围内。高压试验的额定升压速率由图 2 的式(1)给出。低压试验的升压速率应使脉冲保持在波形范围内(见图 3)。
2.1.2 图示记录装置,数字贮存器或示波器
能测量压力周期以确保波形在图2或图3的范围内。该记录装置应具有超过 250Hz 的固有频率,并应严格减振以便在 0.6 倍固有频率及以下时给出误差在 5% 以内的平坦响应。
2.2 试验流体
优先选取 40℃ 下运动粘度为 32mm²/s~100mm²/s的试验流体(即 ISO 3448 所规定的 ISOVG32级~ISOVG100级),并以足以保持试验流体温度均匀的速度使其在试样内循环。经用户与制造方协商,也可使用其他流体。
2.3 试验温度
符合 1.1 的要求。
2.4 试样
2.4.1 试样应为一完整的装配上适宜终端软管接头的软管组合件。除非另有规定,应试验四根装配有终端软管接头不超过 30d 的未经老化的软管组合件,如果所依据标准有要求,也可试验经老化的软管组合件。
2.4.2 如图 1 所示计算试样中必要的软管自由长度。
当 d 小于 25.4mm,用 d=25.4 代替软管自由长度公式中的 +2d 项,从而使软管接头与弯曲半径开始处之间呈平直状态。
实际的软管自由长度与计算出的软管自由长度一致,其公差为 0+10% 或 +80mm,两者以较大者为准。
![]() | ![]() |
| a)软管公称内径在 22mm 及以下 | b)软管公称内径大于 22mm |
说明:r———最小弯曲半径;d———软管外径。
图 1 压力脉冲试验试样
2.5 试验程序
2.5.1 将试样与试验装置相连接。试样应按图 1 安装,即,公称内径为 22mm 及以下的软管试样应弯曲 180°;公称内径大于 22mm 软管应弯曲 90°。
2.5.2 将试验流体升温至试验温度,然后以恒定频率向软管组合件内部施加脉冲压力,高压试验为 0.5Hz 和 1.3Hz 之间,低压试验为 0.2Hz 和 1.0Hz 之间,记录所用脉冲频率。根据试验压力,循环压力应落在图 2 或图 3 阴影区域内。持续试验至规定脉冲循环次数或直至软管组合件损坏为止。如果在完成最小循环次数前停止脉冲试验,当重新开始试验并达到试验温度之前,在软管或软管接头接合处可能会出现渗漏,应按 ISO/TR 11340 分类规定记录渗漏等级。小于 4 级的渗漏不构成软管组合件故障。
根据所依据的标准,确定脉冲试验持续时间,以总脉冲循环次数表示,当需要使用商定的试样时,应引用相关软管或软管组合件标准。
建议经常更换试验流体以防故障。
注:该试验为破坏性试验,试验后的组合件应报废。
2.6 结果表示
记录出现故障时循环次数,如果未发生故障,则应记录所完成的循环次数。
注:得到的试验结果仅对实际试验的软管、软管接头型别和结构有效。

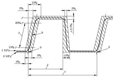
说明:
p——试验压力;
a——于该两点间测定的升压速度;
b——升压正割线;
c——一个脉冲周期;
d——45%~55%周期。
升压正割线是升压曲线上两点间的连接直线,其中一点为试验压力的 15%,另一点为试验压力的 85%。
0 点为升压正割线与压力为零处的交点。
升压速率为升压正割线的斜率,以 MPa/s 表示。
额定升压速率 R 应按式(1)计算:
R=ƒ(10p-k)……………………(1)
式中:
R——升压速率,单位为兆帕每秒(MPa/s);
ƒ——频率,单位为赫兹(Hz);
p——额定试验压力,单位为兆帕(MPa);
k——=5MPa。
实际升压速率应如图所示测定,其公差范围应在计算额定值的±10%以内。
图 2 高压试验脉冲压力波形范围

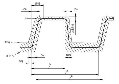
说明:
p——试验压力;
a——一个脉冲周期;
b——45%~55%周期。
升压应在图示波形范围内。
图 3 低压试验脉冲压力波形范围
2.7 试验报告
试验报告应包括下列内容:
a)本标准的编号;
b)所试验软管或软管组合件的完整说明,包括管接头的标识及附件明细,如削胶头长度和扣压后直径等;
c)试验温度;
d)试验压力;
e)试验流体;
f)升压速率;
g)脉冲循环速率;
h)试样是否弯曲至 90° 或者 180°;
i)每一试样试验至损坏时的脉冲次数或所完成的脉冲次数;
j)每一试样损坏的位置及方式,或完成试验后每个试样的状况;
k)试验日期。
以上就是今天分享的内容!如果您对用于上述试验的软管脉冲试验装置感兴趣,欢迎与我们联系!电话:0755-8889 8859!
