今天给大家带来的分享是关于液化石油气设备用紧急切断阀(以下简称阀门)的性能试验方法。根据相关标准规定,液化石油气设备用紧急切断阀的性能试验内容包括:壳体试验、外漏试验、气密试验、动作试验、过流性能试验、自然闭止试验、振动试验、反复操作试验及易熔元件熔融试验,共 9 项。各项内容对应的试验方法如下:
1、壳体试验
1.1 试验压力和试验方法按 GB/T 13927 的规定。
1.2 试验持续时间按表 1 的规定。
表 1
| 公称通径 DN mm | ≤50 | 65~200 | ≥250 |
| 试验持续时间 min | 1/4 | 1 | 3 |
2、外漏试验
2.1 试验压力为最高工作压力。
2.2 试验介质为空气或氮气。
2.3 试验时,阀门处于开启状态,出口端封闭,压力从入口端引入,螺塞、横轴、阀体和阀盖等零件的连接密封部位不得渗漏。
2.4 试验持续时间按表 2 的规定。
表 2
| 公称通径 DN mm | ≤50 | 65~200 | 250~450 | ≥500 |
| 试验持续时间 min | 1/4 | 1/2 | 1 | 2 |
3、气密试验
3.1 试验压力为各用 0.1MPa 和最高工作压力。
3.2 试验介质为空气或氮气。
3.3 试验时,阀门处于关闭状态,压力从入口引入,先导阀和过流阀两处密封面的总渗漏量不得超过规定。
3.4 试验持续时间按表 2 的规定。
4、动作试验
用油或空气按介质流动方向施加与最高工作压力相同的试验压力,当紧急切断阀开始动作后,必须保证在表 3 的规定时间内关闭。
表 3
| 公称通径 DN mm | 关闭时间 s |
≤50 65~100 | ≤10 ≤15 |
5、过流性能试验
5.1 试验介质为水、油或空气。
5.2 试验时,阀门处于开启状态,介质从入口端引入,当达到额定流量时,过流阀应自动关闭。
5.3 额定流量误差允许在 ±10% 以内。
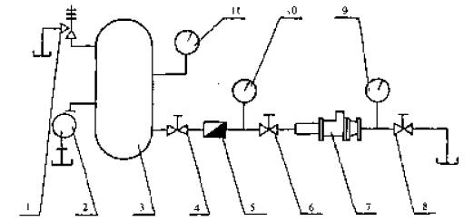
5.4 过流试验系统如图 1 所示。

1—溢流阀;2—离心泵;3—稳压罐;4、6、8—阀门;5—涡轮流量计;7—被试切断阀;9、10、11—压力表
图 1
6、自然闭止试验
靠油压或气压启闭的紧急切断阀,将阀门开启,停止向液压系统补充油液,阀门应达到规定的要求。
7、振动试验
7.1 阀门处于关闭状态,按 JB/T 6697 中"其它部位的产品"的规定进行振动试验。
7.2 阀门经振动试验后,进行外部检查,零部件应无损伤,紧固件应无松脱,按出厂项目检查应合格。
8、反复操作试验
阀门在空载状态下进行反复操作试验,每启闭 500,1000,1300,1600,1800,2000次按出厂检验项目检查应合格。
9、易熔元件熔融试验
紧急切断阀的易熔元件按图 2 所示的试验装置,在达到 75℃±5℃ 时,应确实熔化。试验时,装置内的液体应经常搅拌,每 2~3min 平均上升 1℃,逐步接近规定温度。

1—热源;2—钢管;3—水或油;4—试验物;5—内压调节阀;6—温度计;7—搅拌棒
图 2
以上就是今天的分享!如果您对用于上述试验的相关压力试验装置(如壳体试验装置、外漏试验装置、气密试验装置等)感兴趣,欢迎与我们联系!电话:0755-8889 8859.