汽车用柴油滤清器气压密封性试验
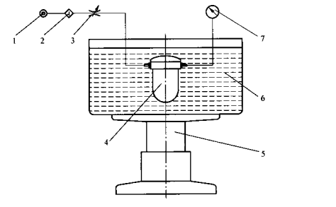
1、试验目的:汽车用柴油滤清器气密性检测装置是检测滤清器是否有渗漏。 试验设备(如下图):

图中:1——气源;2——气源气滤清器;3——调节阀;4——被测滤清器;5——水槽升降器;6——水槽;7——压力表。
2、试验程序
2.1 将被测滤清器安装到试验装置,入口端接气源,出口端接压力表。
2.2 升高水槽,将被试滤清器沉入水中。
2.3 打开调节阀,当压力表达到规定的压力后保压 1min,目测滤清器有无气泡逸出。
3、试验原始记录
试验原始记录至少包括下列内容:
进气压力与保持时间、滤清器有无渗漏、滤清器型号和制造商、试验人员和试验日期。