今天给大家带来的分享是关于胶管的曲挠液压脉冲试验方法。如果你对用于该试验的胶管液压脉冲试验台感兴趣,欢迎与我们联系!电话:0755-8889 8859 QQ:459675648。
1、试验方法
胶管的曲挠液压脉冲试验方法有以下两种:
方法 1:使用图 1 所示的转动歧管;

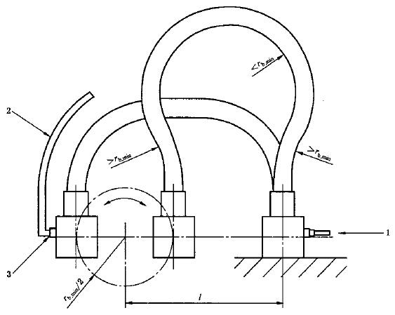
图例:1——试验压力入口;2——流体循环管;3——止回阀。
图 1 使用转动岐管的曲挠液压脉冲试验装置
方法 2:使用图 2 所示的水平滑动歧管。当产品标准中未规定要求时,采用方法 1 。

图例:1——试验压力入口;2——流体循环管;3——止回阀;4——水平往复运动。
图 2 使用水平往复岐管的曲挠液压脉冲试验装置
2、试验设备
胶管的曲挠液压脉冲试验设备为设有曲挠装置的脉冲试验台,试验台上可安装试样,并能提供如图 1 或图 2 所示的曲挠运动。试验台包括一个固定歧管和一个活动歧管,后者可进行旋转运动(见图 1)或水平往复运动(见图 2)。固定歧管中心线与转动歧管的旋转中心等高且平行,或与水平往复歧管的中心等高。活动歧管由齿轮传动以便始终与固定歧管保持平行。活动歧管每分钟转动或往复运动循环次数应在每分钟脉冲循环次数的 34%〜38% 内,即在给定时间内所产生的曲挠循环次数与脉冲循环次数成定比。
从管接头固定歧管的垂直中心线到活动歧管的旋转中心或往复运动中心的距离为ι。任何情况下,软管都承受反向弯曲运动,使其内侧的半径小于最小弯曲半径,接近毎个管接头处的半径则大于最小弯曲半径。
距离 ι 应采用下列方程计算,精确到 ±2mm。
ι=1.75rb,min/dext
式中:
rb,min——最小弯曲半径;
dext——软管外径。
3、试样
从管接头之间测量软管自由长度L,且应采用下列方程计算,精确到 ±15mm。
L=4.14rb,min+3.57dext
式中 rb,min 和 dext 定义如上一章。
应最少试验 4 个试样。最小弯曲半径在相关的产品标准中规定。
4、试验步骤
将试样组合件的一端安装在装置的活动歧管上,另一端安装在装置的固定歧管上。按照 ISO 6803 规定的方法进行压力脉冲试验。
开始试验,直至出现破坏或达到相关产品标准规定的循环次数时为止。
如果破坏出现在距离软管接头末端 25mm 内,则应视为软管接头故障,并如实记录。
7、试验报告
试验报告应包括以下内容:
a)本标准编号;
b)所试验的软管或软管组合件的全部说明;
c)所使用的方法(方法 1 或方法 2);
d)试验温度;
e)试验压力;
f)试验流体;
g)升压速率;
h)脉冲循环速率;
i)曲挠頻率;
j)每根软管试样破坏时的脉冲循环次数或完成的脉冲循环次数;
k)每根软管试样破坏位置和形式,或试验完成时的状态;
l)试验日期。
