今天给大家带来的分享是关于塑料软管的曲挠液压脉冲试验方法步骤及相关试验设备的要求。
1、试验方法
给出两种曲挠方法:方法 1 使用图 1 所示的转动歧管;方法 2 使用图 2 所示的水平滑动歧管。当产品标准中未规定要求时,采用方法 1 。

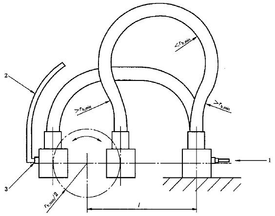
图例:
1)——试验压力入口;
2)——流体循环管;
3)——止回阀。
图 1 使用转动歧管的曲挠液压脉冲试验装置
2、设备
试验设备为设有曲挠装置的脉冲试验台,试验台上可安装试样,并能提供如图 1 或图 2 所示的曲挠运动,试验台包括一个固定歧管和一个活动歧管,后者可进行旋转运动(见图 1)或水平往复运动(见图 2)。固定歧管中心线与转动歧管的旋转中心等高且平行,或与水平往复歧管的中心等高。活动歧管由齿轮传动以便始终与固定歧管保持平行,活动歧管每分钟转动或往复运动循环次数应在每分钟脉冲循环次数的 34%〜38% 内,即在给定时间内所产生的曲挠循环次数与脉冲循环次数成定比。
从管接头固定歧管的垂直中心线到活动歧管的旋转中心或往复运动中心的距离为任何 情况下,软管都承受反向弯曲运动,使其内侧的半径小于最小弯曲半径,接近每个管接头处的半径则大于最小弯曲半径。

图例:
1)——试验压力入口;
2)——流体循环管;
3)——止回阀;
4)——水平往复运动。
图 2 使用水平往复歧管的曲挠液压脉冲试验装置
3、试验步驟
将试样组合件的一端安装在装置的活动歧管上,另一端安装在装置的固定歧管上。按照 ISO 6803 规定的方法进行压力脉冲试验。
开始试验,直至出现破坏或达到相关产品标准规定的循环次数时为止。
如果破坏出现在距离软管接头末端25 mm内,则应视为软管接头故障,并如实记录。
以上就是本次的分享。如果您对用于上述试验的软管曲挠液压脉冲试验装置感兴趣,欢迎与我们联系!电话:0755-8889 8859 QQ:459675648。
