(内容转自标准《GB/T21476-2008船舶与海上技术软管组件的耐火性能试验台要求》,如果您对相关软管组件耐火性能试验设备,有兴趣,欢迎与我们联系!电话:0755-8889 8859 QQ:459675648。)
1、范围
范围本标准规定了用于确定公称通径不小于10mm软管组件耐火性能按GB/T21477规定的试验的试验台要求。暴露在火焰中时,能承受不大于10bar的工作压力。
软管的播焰能力试验不能使用本标准规定的试验台。
试验介质只允许是水。为确保在试验期间如果软管破损的情况下操作人员和试验台的最大安全,禁止使用易燃试验介质。
2、规范性引用文件
下列文件中的条款通过本标准的引用而成为本标准的条款。凡是注日期的引用文件,其随后所有的修改单(不包括勘误的内容)或修订版均不适用于本标准,然而,鼓励根据本标准达成协议的各方研究是否可使用这些文件的最新版本。凡是不注日期的引用文件,其最新版本适用于本标准。
GB/T 21477 船舶与海上技术软管组件的耐火性能试验方法(GB/T 21477一2008,15015540:1999,IDT)
IEC 60051一1:1984 直流作用显示、模拟电气测量装置及其附件第1部分:所有部件的定义和通用要求
IEC 60051一1 修正案1号:1994IEC60051一1修正案2号:1995
3、术语和定义
本标准采用下列术语和定义。
3.1耐火 fireresistance
在标准的耐火试验中,组成构件、部件或结构的元件,在规定的时间内满足所要求的稳定性、完整性、热绝缘和/或其他预期的特定性能的能力。
4、要求
4.1 试验台部件试验台应由下列部分构成(见图1);
——带有软管组件、燃烧器和排气总管连接设备的燃烧室(见4.2);
——带有调节和控制试验介质的设备的组合箱(见4.3);
——监控和记录试验进程的设备(见4.4);
——加压设备,在施加火焰的末期能给试件加载技术规范规定的试验压力(见4.5)。
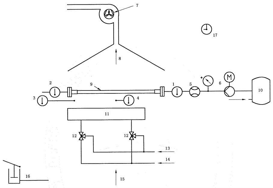
指示、测量、记录、控制和调整。

1——试件人口处水温表;2——试件出口处水温表;3——试件出口处下方的火焰温度计;
4——试件中部下方的火焰温度计;5——流量计;6——试验期间的工作压力表;
7——风扇;8——排气口;9——试件;10——加热/冷却水箱;11——燃烧器;12——混合阀;
13——气体;14——燃气;15——空气;16——压力试验泵;17——试验持续计时器。
图1 试验台简图
4.2 燃烧室
4.2.1 概述
试件的连接应该布置在一定的操作高度(例如1100mm),能使带有最短500mm长的软管的软管组件进行试验。应提供稳定地向上流动的空气。空气供给的基本面积大约为0.6m²。
燃烧室的布置示例见图2。

1——水温表;2——火焰温度计;3——流量计;4——压力表;5——扩散器;6——排气总管;
7——节流阀;8——试件;9一一水;10——燃烧器支架;11——水、燃烧残余滴落盘;12——排气扇;
13——观察窗;14——丙烷;15——燃气;16——燃烧器工作位置;17——于调节火焰的燃烧器一般位置;
18——燃烧器布置(6个单独的燃烧单元组成两种不同燃烧器的截面积示例)。
图2 燃烧室典型图
4.2.2 燃烧器
燃烧器的总截面积最小应为150mm*500mm。截面积可以由几个燃烧器单元的面积组成。
应使用每平方分米最少有20个喷嘴的燃烧器。
燃烧器应为扇叶型。
每一燃烧器单元应设有混合空气和燃气的混合阀,试验中能在软管组件的下方产生(800±50)℃的中性火焰。
调节火焰的过程中,为避免试件接触到火焰,燃烧器应为活动的。
为了使火焰能包覆所有可能的公称通径的试件,燃烧器高度应可变。在试件下方约15mm处直接测得的温度应为(800±50)℃。
4.2.3 排气总管
废气应由排气扇向上排放。风扇应是无级变速的。向上的气流应产生定向火焰。
应根据当地的法律而考虑到环境的限制性条件。
4.2.4 冷却回路
为控制冷却回路,在冷却供应和泄水管线上应设有截止阀和测量仪器。
4.3 组合箱
应设置加热和冷却设备,在试件人口处为试件提供(80±2)℃的水。
试件内试验介质的流速应能调节至0.1m/s。
应设置安装了试件后在耐火试验期间可调节工作压力至10bar的设备。
4.4 监控和记录
4.4.1 控制和调整
图1和表1中所列的参数可通过适当的方法,在给定的范围内控制/调整。
表1 参数的控制和调整范围

4.4.2 测量、记录和指示
应按表2的明细测量、记录和指示试验参数,最少2min一次。
表2 参数记录要求

仪器应符合下列精度级别,或满足下列公差:
压力表:最大刻度值±1.0%;
电子测量仪器:符合IEC 60051-1的1级;
非电子测量仪器:最大刻度值±1.0%;
流量表:最大刻度值±1.0%。
试验设备的检测应按已经公认的质量控制系统进行。例如:依据1509000系列国际标准。
4.4.3 安全装置
4.4.3.1 要求
试验台安全装置应符合下列要求:
a)下列要求应用于试验台设置:
燃烧器供气装置应用电子点火安全装置保护。下列情况下,供燃烧器用的燃气应能自动关闭:
——火焰自动熄灭;
——试件压力突降;
——试验箱被打开;
——排气不充分;
——紧急停止。
b)由于安全原因需熄灭燃烧器的情况下,试件的人口和出口快关阀应关闭。回路应能释放压力。
c)试件被破坏时,应确保燃烧器上的漏水能抽空。
d)水流回路中的工作压力应通过一个安全阀限制在 12 bar以下。
e)应确保当循环泵工作时,给水加温的热源才能启动。另外,锅炉内应设置限制容许最高温度的温度调节装置。
4.4.3.2 试验
应设置在4.4.3.1a)规定的条件下关闭供气的装置。应能断开气体供应。
按4.4.3.1a)关闭后,应确认能满足4.4.3.1b)的要求。
当供气关闭时,燃烧器应被水淹没一次,应确认水能按4.4.3.1c)排出的要求。
应确认按4.4.3.1d)要求工作压力安全值限制系统内工作压力为12bar。
应确认按4.4.3.1e)要求在循环泵关闭时不能启动加热装置。另外,还应确认锅炉内的水温不能超过容许最高温度。
4.5 加压装置
应设有加压装置,其应能依据标准或其他规范在施加火焰结束后给试件加载从内部工作压力升至试验压力。
加压装置应能布置在现有的试验台外面。