今天给大家带来的分享是关于橡胶软管及软管组合件的无曲挠液压脉冲试验方法,该方法亦适合用塑料软管及软管组合件的无曲挠液压脉冲试验。具体试验方法程序如下:
1、将试样与软管液压脉冲试验装置相连接。试样应按图 1 安装,即,公称内径为 22 mm 及以下的软管试样应弯曲 180° 公称内径大于 22 mm 软管应弯曲90° 。

说明:r——最小弯曲半径;d——软管外径。
图 1 压力脉冲试验试样
2、将试验流体升温至试验温度,然后以恒定頻率向软管组合件内部施加脉冲压力,高压试验为 0.5Hz 和 1.3Hz 之间,低压试验为 0.2Hz 和 1.0Hz 之间,记录所用脉冲频率。根据试验压力,循环压力应落在图 2 或图 3 阴影区域内。持续试验至规定脉冲循环次数或直至软管组合件损坏为止。如果在完成最小循环次前停止脉冲试验,当重新开始试验并达到试验温度之前,在软管或软管接头接合处可能会出现渗漏,应按 ISO/ TR 11340 分类规定记录渗漏等级。小于 4 级的渗漏不构成软管组合件故障。

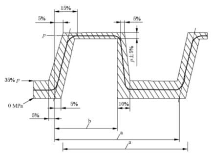
说明:p——试验压力;a——于该两点间测定的升压速度;b——升压正割线;c——一个脉冲周期;d——45%~55%周期。
升压正割线是升压曲线上两点间的连接直线,其中一点为试验压力的15%,另一点为试验压力的85%。
0点为升压正割线与压力为零处的交点。
升压速率为升压正割线的斜率,以MPa/s表示。
额定升压速率R应按式(1)计算:
R=f(10p-k)
式中:
R——升压速率,单位为兆帕每秒(MPa/s);
f——频率,单位为赫兹();
p——额定试验压力,单位为兆帕(MPa);
k——=5MPa。
实际升压速率应如图所示测定,其公差范围应在计算额定值的±10%以内。
图 2 高压试验脉冲压力波形范围

说明:
p——试验压力;a——一个脉冲周期;b——45%~55%周期。
升压应在图示波形范围内。
图 3 低压试验脉冲压力波形范围
报椐所依椐的标准,确定脉冲试验持续时间,以总脉冲循环次数表示,当需要使用商定的试样时.应引用相关软管或软管组合件标准。
建议经常更换试验流体以防故障。
注:该试验为破坏性试验,试验后的组合件应报废。
以上就是今天的分享,如果您对上述试验所用的软管液压脉冲试验装置感兴趣,欢迎与我们联系!电话:0755-8889 8859 QQ:459675648。
