今天给大家带来的分享是关于橡胶和塑料软管及软管组合件静液压试验的一般要求和程序。
1、橡胶和塑料软管及软管组合件静液压试验的一般要求
应使用水或其他适合于软管的液体作为试验介质。
警告:由液体施加压力的软管和软管组合件可能以潜在的危险方式破坏。因此,试验应在适当的封闭状态下进行。同样应避免使用空气或其他气体作为试验介质,因为这对操作者来说是危险的。在特殊的情况下,试验需要使用这种介质时,必须采取严格的安全措施。此外,还应强调指出,即使釆用液体作为试验介质,也必须要排除试样中的全部空气,否则当软管爆破时,由于软管内聚集的空气因突然释压而膨胀,有使操作者受伤的危险。
2、橡胶和塑料软管及软管组合件静液压试验的程序
2.1 先将试样充满试验用的液体,排除所有空气,然后连接到试验装置上。关闭阀门以均匀的升压速率施加静液压力。用校准压力表或带数字显示器的压力转换器测量压力。
注:试验过程中,允许试样的自由端或堵塞端产生不受限制的运动。
2.2 升压速度应是恒定的,对公称内径小于或等于50 mm的软管应在30 s〜60 s之间达到最终压力。对于公称内径大千50 mm而小于或等于250 mm的软管,其达到最终压力所需时间应在60 s〜240 s之间。对于公称内径大于250 mm的软管,达到最终压力所需要的时间应由制造厂和使用者决定。

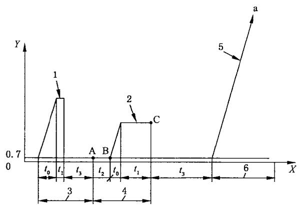
说明:
X——时间,t;
Y——压力,p(MPa 或 bar);
1——验证压力;
2——试验压力;
3——泄露和缺陷的检测;
4——测量;
5——爆破压力;
6——爆破;
t0——规定压力增加时间;
t1——规定压力保持时间;
t2——在参考压力(0.07 MPa)下初始尺寸(长度和直径)时测量时间;
t3——不问压力下规定的等待时间;
a——爆破。
此完整试验程序(验证压力——试验压力——爆破压力)仅适用于“型式试验”。对于例行试验,验证压力后的“测量结果”仅适用于当相关软管制品标准有规定时。
测量初始长度和直径或周长,并标出扭转测量时A和B点之间的参考标记。在C点前直接测量长度、直径或周长、扭转和弯曲的增加。
图 1 标准规定的静液压试验程序
以上就是今天的分享!如果您对用于上述试验的软管静液压试验装置感兴趣,欢迎与我们联系!电话:0755-8889 8859 QQ:459675648。
