今天给大家带来的分享是关于液压缸性能的试验装置和试验条件的要求。具体内容如下:
1、试验装置
1.1 液压缸试验装置见图 1 和图 2。试验装置的液压系统原理图见图 3~图 5。

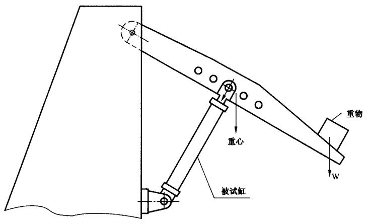
图 1 加载缸水平加载试验装置

图 2 重物模拟加载试验装置

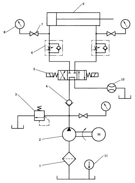
1——过滤器;2——液压泵;3——溢流阀;4——单向阀;5——电磁换向阀;6——单向节流阀;
7——压力表开关;8——压力表;9——被试缸;10——流量计;1 1——温度计。
图 3 出厂试验液压系统原理图

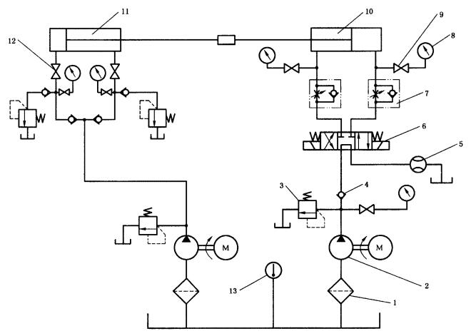
1——过滤器;2——液压泵;3——溢流阀;4——单向阀;5——流量计;6——电磁换向阀;
7——单向节流阀;8——压力表;9——压力表开关;10——被试缸;11——加载缸;12——截止阀;13——温度计。
图 4 型式试验液压系统原理图

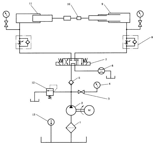
1——过滤器;2——液压泵;3——压力表开关;4——压力表;5——单向阀;6——流量计;7——电磁换向阀;
8——单向节流阀;9——被试缸;10——测力计;11——加载缸;12——溢流阀;13——温度计。
图 5 多级液压缸试验台液压系统原理图
1.2 测量准确度
测量准确度采用 B、C 两级。 测量系统的允许系统误差应符合表 1 的规定。

表 1 测量系统允许系统误差
2、试验用油液
2.1 黏度
油液在 40℃时的运动黏度应为 29 mm2/s- 74 mm2/s。
注: 特殊要求除外。
2.2 温度
除特殊规定外,型式试验应在 50℃±2℃下进行;出厂试验应在 50℃±4℃下进行。出厂试验允许降低温度,在 15℃~45℃范围内进行,但检测指标应根据温度变化进行调整,保证在 50℃±4℃ 时能达到产品标准规定的性能指标。
2.3 污染度等级
试验系统油液的固体颗粒污染度等级不得高于 GB/T 14039 规定的 19/15 或 -/19/15。
2.4 相容性
试验用油液应与被试液压缸的密封件材料相容。
3、稳态工况
试验中,各被控参量平均显示值在表 2 规定的范围内变化时为稳态工况。 应在稳态工况下测量并记录各个参量。

表 2 被控参量平均显示值允许变化范围