今天给大家带来的分享是关于室内消火栓的压力损失及减压稳压性能试验方法。
1、室内消火栓压力损失性能试验方法
1.1 试验准备
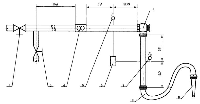
清除室内消火栓体腔内油污、脏物,按图1所示配管并安装。

说明:1——室内消火栓;2——截止阀;3——节流阀;4——流量计;5——栓前压力表;6——差压变送器;
7——栓后压力表;8——有衬里消防水带(长度大于或等于20 m);9——当量喷嘴直径为19 mm的消防水枪;
d——流量计公称通径;DN——室内消火栓公称通径。
图1 压力损失及减压、稳压性能试验示意图
1.2 试验步骤
将阀瓣开启至最大位置,单阀双出口型室内消火栓封住一个出水口,双阀双出口型室内消火栓需关闭一个阀瓣,调节截止阀及节流阀的开启高度,使进口流速保持2.5 m/s。用差压变送器测量进口和出口的压力差。
2、室内消火栓减压、减压稳压性能及流量试验方法
2.1 减压性能及流量
2.1.1 试验准备同1.1的规定。
2.1.2 将阀瓣开启至最大位置,手动调整减压型室内消火栓节流装置至生产单位提供的栓后压力值的位置,调节截止阀及节流阀的开启高度,使进口水压升至生产单位提供的技术参数中的某一数值,记录栓后压力值及流量。
2.2 减压稳压性能及流量
2.2.1 试验准备同1.1的规定。
2.2.2 将阀瓣开启至最大位置,调节截止阀及节流阀的开启高度,使室内消火栓进水口水压缓慢升至表4规定的每一压力值,记录每一压力点的栓后压力值及流量,并观察试验的升压及降压过程中是否出现压力震荡现象。

表1 减压稳压性能及流量
以上就是今天的分享!如果您需要用于上述性能试验的室内消火栓的压力损失及减压稳压性能试验装置,欢迎与我们联系!电话:0755-8889 8859 QQ:459675648。
