今天给大家带来的分享是关于不锈钢卡压式管件的性能试验方法的内容。如果您对下述试验内容所需的相关不锈钢卡压式管件性能试验装置有兴趣,欢迎与我们联系!电话:0755-8889 8859 QQ:459675648。
不锈钢卡压式管件的性能试验内容包括:水压试验、气密性试验、耐压试验、负压试验、拉拔试验、温度变化(冷热水循环)试验、水压弯曲挠角试验、水压振动试验、压力冲击(波动)试验等10项内容,下面就来和大家共同学习。
1、水压试验
管件两端封堵后,注入自来水的管件压至2.5MPa试验压力,在试验压力下,稳压时间不少于5 s,管件应无渗透和永久变形。
2、气密试验
将管件装在气密试验台上,浸没水中,充人纯净的压缩空气,用于气体介质的气密试验压力为1.05 MPa,用于液体介质的气密试验压力为0.6 MPa。在试验压力下稳压时间不少于5 s,管件应无泄漏现象。
3、耐压试验
试件两端与长度为200 mm的薄壁不锈钢管卡压连接,组成一组试样,进行耐压试验,试验介质为自来水,其试验压力为2.5 MPa,保压1 min,管件与管子的连接部位应无渗漏和脱落现象。
4、负压试验
应使用3个不同公称尺寸的管件与长度分别为200 mm的等径薄壁不锈钢管卡压连接后构成一组试件,试验时,室内温度为(20±5)℃用真空泵减压至80kPa,在该气压下,保持1 h后,管件和管子内压差不得大于5kPa及有其他异常。
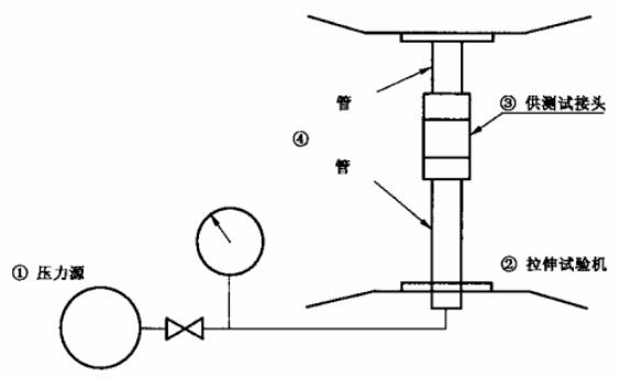
5、拉拔试验
试件两端与长度为300 mm的薄壁不锈钢管卡压连接,组成一组试样,向管内封入0.6 MPa气压,固定在拉伸试验机上。进行拉拔试验时,以2 mm/min的速度进行拉伸,测定出现泄漏时的最大拉伸力,此时的拉伸力应大于表1规定的最小抗拉阻力。

图1 拉拔试验装置
表1 最小拉拔强度

6、温度变化(冷热水循环)试验
温度变化试验装置如图2所示,此项试验应在(20±5)℃ 和(93±5)℃的常温水与热水,用(1.6±0.16)MPa内压进行2 500次循环变化,一个循环为(30±2)min,冷热水各保持15 min,冷热水的交替能在1 min内完成。其结果应为各连接部位无渗漏及其他异常现象。

注:图中尺寸单位为毫米,L尺寸须与检测设备相匹配。
图2 温度变化试验装置
7、水压弯曲挠角试验
水压弯曲挠角试验装置如图3所示,试件两端接长度800 mm的薄壁不锈钢管挤压连接成一组试样,注入清水升压至1.7 MPa,保压试件两侧对称,管上各设置一个支点,支点间距L=1 000 mm,试件管口加荷重,弯曲试验条件见表2,不得漏水。

图3 水压弯曲挠角试验装置
表2 弯曲挠角试验条件

8、水压振动试验
振动试验装置如图4所示,将接头与长500 mm以上的管子连接,向内部封入1.7 MPa的水压,按表3所示的条件实施振动,持续100万次,不得有渗漏、脱落及其他异常。

图4 振动试验装置
表3 振动条件

9、压力冲击(波动)试验
将接头与长500 mm以上的管连接,内部注满水后,升压到2.5 MPa,再减压到0 MPa,此搡作应在10 s内完成,并以此为一个周期,反复施加1 500个周期的同样内压,不得有渗漏、脱漏及其他异常。
10、卫生要求
用户要求时或型式试验时,用于输送饮用净水和生活饮用水管件的卫生试验应符合GB/T 17219的相关规定。