液液快换接头(下统通为“接头”)的真空试验按以下要求步骤进行:
1、接头连接真空试验
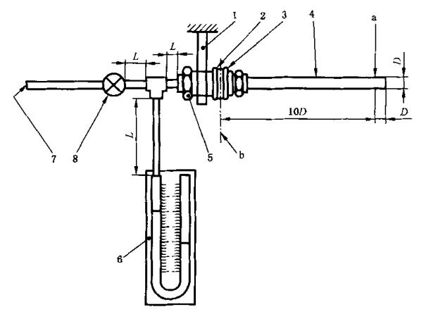
1.1 按图 1 所示将接头总成安装在试验装置中。
1.2 对接头总成施加侧向载荷,如图 1 所示。
1.3 起动真空泵并使真空度达到规定的数值。

D——接头公称通径,mm;
L——15 Dmax;
1——固定阴接头的夹具;
2——试验接头总成或阴、阳接头;
3——阳接头;
4——连接到阳接头上不固定在夹具里的钢杆;
5——阴接头;
6——压力计;
7——接真空泵;
8——阀;
a——50 N 载荷垂直于接头中心线(仅对接头连接试验适用);
b——锁定装置的中心线。
图 1 真空试验系统
1.4 关闭阀并使其稳定 10 min。
1.5 观察真空表下降的数值。
1.6 在试验报告中记录真空表读数。
2、接头断开的真空试验(仅用于带阀的)
2.1 按图 1 所示将阴、阳接头分别装入试验装置中。
2.2 起动真空泵并使真空度达到规定的数值。
2.3 关闭阀门使其稳定 10 min。
2.4 观察真空表下降的数值。
2.5 在试验报告中记录真空表读数。
以上就是液压快换接头真空试验方法的所有内容。如果需要相关的接头性能试验系统,欢迎与我们联系!电话:0755-8889 8859 QQ:459675648。
深圳市红足1世足球网生产的接头真空试验台设备适用各种接头、管件、阀门、过滤器、低压容器等产品在真空条件下的密封性能检测试验;整套设备采用计算机加PLC自动控制,所有试验都可在控制台上完成。同时设备上还带有手动排水阀,将倒吸入设备里的水进行排除。
