今天给大家带来的分享是关于液压传动电控液压泵的动态特性试验方法。(如果您需要试验相关的试验回路装置,欢迎与我们联系!电话:0755-8889 8859 QQ:459675648。)
1、总则
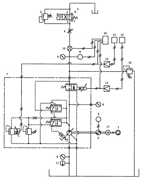
1.1 试验回路和检测回路应符合图1或图2的规定。

1——被试泵; 2——加载阀; 3——方向控制阀;4——节流阀; 5——转矩仪; 6——转矩指示器;
7——测速仪; 8——压力传感器; 9——压力表;10——流量传感器; 11——温度计; 12——电控器;
13——信号源; 14——电控器; 15——信号源;16——记录仪; 17——电动机; 18——手动安全阀。
注:图中泵控制阀组的细节仅是示例。
图1 装有压力控制阀和流量控制阀的被试泵试验回路图

1——被试泵; 2——加载阀; 3——方向控制阀;4——节流阀; 5——转矩仪; 6——转矩指示器;
7——测速仪; 8——压力传感器; 9——流量传感器;10——压力表; 11——温度计; 12——电控器;
13——信号源; 14——记录仪; 15——电动机;16——手动安全阀。
注:图中泵控制阀组的细节仅是示例。
图2 应用电信号在压力补偿工况通过调节变量装置的位置
或角度改变排量来控制输出压力的被试泵试验回路
注:除采用如图2所示的内控压力油外,也可以采用外控压力油。
1.2 将电动机调整到设定的转速。
1.3 对于图2所示的泵,可采用摆角或行程占其最大值的百分比作为判断输出流量的参考值。
2、负载阶跃变化时的压力响应特性
2.1 如果泵具有压力控制和流量控制的功能,调整输入压力指令信号和输入流量指令信号,使其达到最大值。
2.2 采用方向控制阀3对泵实现快速关闭,同时在泵的输出管路上安装一只压力传感器,以便在示波器上记录瞬时压力变化。
2.3 调节回路,使得当方向控制阀关闭时,压力上升率能达到680 MPa/s〜920 MPa/s的范围。可将800 MPa/s作为压力上升率的指标。
2.4 打开方向控制阀,调节节流阀,保持在最高工作压力的75%。
2.5 关闭方向控制阀,同时记录瞬时压力与时间的关系。通过采集的数据,确定单位为兆帕/秒的压力上升率、单位为毫秒的阶跃响应时间和调整时间,以及当输出压力达到相关设定压力时的超调值(见图3)。当压力变化幅度在正常波动范围内时,应认为压力是稳定的。
2.6 打开方向控制阀,同时记录瞬时压力与时间的关系。通过采集的数据,确定单位为兆帕/秒的压力下降率、单位为毫秒的阶跃响应时间和调整时间,以及当输出压力达到相关设定压力时的超调值(见图3)。当压力变化幅度在正常波动范围内时,应认为压力是稳定的。
2.7 在额定流量的50%和25%重复 2.4〜2.6的试验。
3、输出压力对阶跃输入信号的响应试验
3.1 如果泵具有压力控制和流量控制功能,调整输入压力指令信号和输入流量指令信号,使其达到最大值。
3.2 完全关闭加载阀,使泵在最低可控压力上运行。
3.3 采用信号发生器,为输出压力控制提供阶跃输入信号,从而得到最高工作压力的l00%、75%及 50%。
3.4 应使用与泵的动态响应特性相比具有足够高响应性能的记录仪或计算机检测系统,同时记录输入指令信号和输出压力动态响应波形,并以时间函数的形式图示输出压力信号对输入阶跃信号的响应特性(见图4)。
注:在10倍于最大信号频率的频率点,记录仪的幅值比应为-3dB。
3.5 从采集到的数据,得出单位为毫秒的压力阶跃响应时间和调整时间,以及当输出压力达到相关设定值时的超调值。当压力变化幅度在正常波动范围内时,应认为压力是稳定的。
3.6 记录负载腔容积、管子长度、内径和管子种类。

a 压力上升率; b 压力下降率; c 截流压力; d 超调(上升); e 调整时间(下降);
f 75%截流压力; g 响应时间; h 调整时间(上升)。
图3 负载阶跃变化时的压力响应特性

a 调整时间(上升); b 超调(上升); c 响应时间(上升); d 调整时间(下降)。
e 响应时间(下降); f 输入信号(mA或V); g 超调(下降)。
图4 输出压力的阶跃响应特性
4、输出流量对阶跃输入信号的响应试验
4.1 如果泵具有压力和流量控制功能,调整输人压力指令信号,使其达到最高工作压力。
4.2 应用信号发生器为泵的输出流量控制提供阶跃输入信号,把输出流量从最大输出流量的10%改变到 90%、75%、50%和 25%。
4.3 设定节流阀,针对相应的上限流量,将压力调整到最高工作压力的50%。
注:如果加载阀的动态响应特性和泵的动态昀应特性相比是足够高的,此加载阀可以用来替代节流阀。
4.4 应使用与泵的动态响应特性相比具有足够高响应性能的记录仪或计算机检测系统,同步地记录输出流量动态响应波形,并以时间函数的形式图示输出流量信号对输入阶跃信号的响应特性(见图5)。
注:在10倍于最大信号频率的频率点,记录仪的顶值比应为-3dB。
4.5 从采集到的数据,得出单位为毫秒的阶跃响应时间和调整时间,以及当输出流量达到相关设定值时的超调值。当流量变化幅度在设定流量的±5%范围内时,应认为流量是稳定的。
4.6 记录负载腔容积、管子长度、内径和管子种类。

a 调整时间(上升); b 超调(上升); c 响应时间(上升); d 调整时间(下降);
e 响应时间(下降); f 输入信号(mA或V); g 超调(下降)。
图5 输出流量的阶跃响应特性
5、频率响应
5.1 输出压力的频率响应试验
5.1.1 对符合 3.1要求的泵 ,一种是完全关闭加载阀,调整截流压力到最高工作压力的50%,并以此压力值为中心,应用一个频率足够低、幅值为最高工作压力的±5%和±12. 5%的正弦输入信号。
另一种是先完全关闭加载阀,调整截流压力到最高工作压力的50%,再打开加载阀,达到最大输出流量的50%,调整压力到最高工作压力的50%,并以此压力值为中心,应用一个频率足够低、辐值为最高工作压力的±5%和±12. 5%的正弦输入信号。
试验应在两种不同情况下完成,一种是加载阀完全关闭,另一种是加载阀打开50%。
5.1.2 正弦波输入信号的频率范围大约为1/20到10倍于被试泵的穿越频率,扫描速度应与检测装置相匹配。
5.1.3 应使用精确的频率响应分析仪或计算机检测系统,与泵的动态响应特性相比,该分析仪应具有足够高的响应特性,能出具以频率为横坐标,输出压力幅值比和相位滞后值为纵坐标的图形。
5.1.4 根据采集的数据,得到和频率相关的幅值比(以分贝为单位)和相位滞后值(以度数为单位),并以波德图表示其关系(见图6)。该图是采用相对于零频率幅值的幅值比,以及相对于对数频率相位滞后值的方法绘制而成。不建议仅使用幅值比衰减为-3dB和相位滞后为90°的单一试验基准点。
5.1.5 记录负载腔容积、管子长度、内径及管子种类。

a 幅值曲线; b 相位曲线。
图6 输出压力频率响应波德图
5.2 输出流量的频率响应试验
5.2.1 对符合4.1要求的泵连接一个简单的被动载荷,该载荷允许瞬时输出压力进行调整,从而使泵的工作压力在任何试验幅值和频率时都不超值。调整压力到最高工作压力的50%,并以此压力为中心,采用与 5.2.2和 5.2.3 —致的正弦输入信号。
5.2.2 调整输出流量到最大输出流量的50%,并且以此输出流量为中心,应用频率足够低,幅值为最大输出流量的±5%和±12.5%的正弦输入信号。
5.2.3 首选方法是在合适的位置上应用传感器来测量泵的输出响应,如偏心盘或斜盘的位置。如果确认所用的流量传感器至少比最高频率试验时所要求的快10倍,那么这样的流量传感器可以作为有别于测量偏心盘或斜盘位置的另一种选择。
5.2.4 正弦信号的频率范围应符合5.1.2的要求。
5.2.5 应使用精确的频率响应分析仪或计算机检测系统,与泵的动态响应特性相比,该分析仪应具有足够高的响应特性,能出具以频率为横坐标,输出流量幅值比和相位滞后值为纵坐标的图形。
5.2.6 根据 5.1.4的要求从记录仪采集的数据中得到波德图(见图7)。
5.2.7 记录负载腔容积、管子长度、内径和管子种类。

a 幅值曲线; b 相位曲线。
图7 输出流量频率响应波德图