快速接头的泄漏试验包括:低压下接头连接的泄漏试验、低压下接头断开的泄洲试验(仅用于带阀的)、最大工作压力下接头连接的泄漏试验及最大工作压力下接头断开的泄漏试验(仅用于带阀的)这4个方面的内容,下面我们来共同学习一下它们的试验方法有什么不一样。
1、快速接头低压下接头连接的泄漏试验
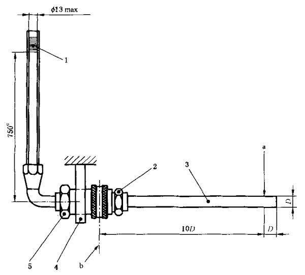
1.1 将接头总成装人试验装置中。 以试验液体注人试验装置至 750 mm的液柱高度。 在距离锁定装置的测量棒的轴线为10D 处, 施加 50 N 载荷垂直于接头中心线,见 图 1。D 等 于G B/T 2351中的软管公称内径。

D = 接头的公称通径,mm; 1——带有测量刻度的透明圆管; 2——阳接头;
3——钢杆连接到阳接头上 ,不固定在夹具里; 4——固定阴接头的夹具; 5——阴接头;
a——5D N 载荷垂直于接头中心线; b——锁定装置中心线; c——液柱高度。
图 1 低压泄漏试验装置(接头连接时)
1.2 在不小于 30 min 的试验时间内测量圆柱液面下降高度。 计算泄漏量(以 mL/h 计)。
1.3 在试验报告中记录泄漏量。
2、快速接头低压下接头断开的泄洲试验(仅用于带阀的)
2.1 将阴(阳) 接头装人试验装置中。 以试验液体注人试验装置至 750 mm 的液柱高度(见图 2)。
2.2 在不小于 30 min 的试验时间内测量圆柱液面下降高度。 计算泄漏量(以 mL/h 计)。
2.3 在试验报告中记录泄漏量。

1一一带有测量刻度的透明圆柱管; 2一一半接头(阳接头或阴接头)试验元件;
a一一液柱高度; b一一顶部开口。
图 2 低压泄漏试验装置(接头断开时)
3、快速接头最大工作压力下接头连接的泄漏试验
3.1 清除回路内部空气。用试验液体向接头总成加压,使接头总成达到 GB/T 5860 中所规定的最大工作压力。
3.2 保持最大工作压力在不小于30 min 的试验时间内,观察泄漏量。 用有刻度的量杯收集和测量泄漏量。 计算泄漏量(以 mL/s 计)。
3.3 在试验报告中记录泄漏量。
4、快速接头最大工作压力下接头断开的泄漏试验(仅用于带阀的)
4.1 清除回路内部空气。 用试验液体向阴(阳) 接头加压,使阴(阳)接头达到GB/T 5860 中所规定的最大工作压力。
4.2 保持最大工作压力在不小于 30 min 的试验时间内,观察泄漏量。 用有刻度的量瓶收集和测量阴(阳)接头泄漏量。 计算泄漏量(以m L/s 计)。
4.3 在试验报告中记录泄漏量。
以上就是关于快速接头泄漏试验方法的所有内容。如果您对上述试验所用用的试验装置感兴趣,欢迎与我们联系!电话:0755-8889 8859 QQ:459675648。