金属材料的氢脆敏感度试验参照标准《GB/T 34542.3-2018 氢气储存输送系统 第3部分:金属材料氢脆敏感度试验方法》进行,本文摘取其中部分内容与大家一起分享!
(如果您对该试验所用的试验装置有兴趣,欢迎与我们联系!亿威仕公司可根据你的要求进行定制。电话:0755-8889 8859 QQ:459675648。)
1、一般要求
1.1 试验用氢气应满足GB/T3634.2中高纯氢的技术要求;试验用氦气应满足GB/T4844中高纯氦的技术要求。
1.2 置换用氮气或惰性气体的纯度应大于或等于99.999%。
1.3 试验温度应为23℃±5℃。
1.4 氢脆敏感度试验至少应包括6个氦气环境试验和9个氢气环境试验。
1.5 试验时升压速率应保持恒定,其值应在0.01MPa/min〜100MPa/min范围内。
1.6 6个氦气环境试验的升压速率推荐值分别为0.01MPa/min、0.1MPa/min、1MPa/min、10MPa/min、50MPa/min和100MPa/min。
1.7 9个氢气环境试验分为两组。第一组6个试验的升压速率推荐值分别为0.01MPa/min、0.1MPa/min、1MPa/min、10MPa/min、50MPa/min和100MPa/min;第二组3个试验的升压速率均应等于或者接近第一组试验中与最低修正爆破压力相对应的升压速率。
2、试验设备
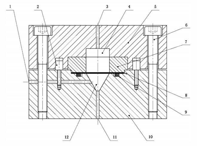
2.1 氢脆敏感度试验设备主体的基本结构参见附录A,主要由上法兰、下法兰、压环、置换孔、进气口、排气口等组成。
2.2 试验设备用材料应满足相应国家标准或者行业标准的要求,与良好的相容性。
2.3 试验设备应满足GB/T29729、GB/T34542.1的相关安全要求。
2.4 试验设备的进气管路中应设置流量控制阀。
2.5 试验设备中压力传感器的精度等级不得低于0.25级。
2.6 上腔体高度应大于或等于25.5mm。
2.7 压环内直径应为25.5mm、内圆角曲率半径应为0.5(上0.25下-0.05) mm,其材料的1100MPa。
2.8 法兰应通过均布的10个M10高强钢螺栓连接;采用橡胶()形圈作为密封元件时,拧紧扭矩为30N•m。
3、试样要求
3.1氢脆敏感度试验中圆片的加工工艺应相同,且加工不应改变材料性能。
3.2圆片至少应满足以下要求:
a)直径为58(上0下-0.05)mm;
b)厚度为0.75mm±0.01mm;
c)平面度小于或等于0.1mm;
d)表面粗糙度小于或等于0.8μm。
3.3 圆片应在干燥环境中妥善保存。
4、试验程序
4.1 试验前,应采用适当的方法清洗圆片表面的油污和杂质,不得用手直接接触圆片表面。
4.2 圆片安装于试验设备后,应先用氮气或惰性气体置换下腔体及管路系统,再用试验气体(氢气或氦气)置换。置换结束时,下腔体内氧气和水的含量(体积分数)应分别小于或等于1*10-6和5*10-6。
4.3 选择合适的升压速率,并以恒定的升压速率对下腔体加压直至圆片爆破。
5、氢脆敏感度评价
5.1 通过氢脆敏感度系数来评价材料的氢脆敏感度。
5.2 若氢脆敏感度系数小于或等于1,则材枓氢脆不敏感;若氢脆敏感度系数大于或等于2,则材料氢脆敏感,不得用于制造临氢零部件;若氢脆敏感度系数在1〜2之间,则材料长期在氢气环境中使用有可能发生氢脆。
6、试验报吿
试验报告至少应包含以下内容:
a)材料牌号、规格、化学成分、热处理状态、焊接工艺参数(必要时);
h)圆片尺寸、表面状态;
c)气体纯度、试验温度;
d)压力-时间曲线;
e)爆破压力Pr、加载时间t;
f)p'rHe/p'tH2值和氢脆敏感度系数。
附录A (资料性附录)
金属材料氢脆敏感度试验设备主体基本结构
氢脆敏感度试验设备主体基本结构如图A.1所示,主要由上法兰、下法兰、压环、置换孔、进气口、排气口等组成。
法兰和压环用于夹持圆片;置换孔主要用于置换下腔体;进气口和排气口分別用于通入气体和排放气体。

说明:
1——置换孔;2——定位销;3——排气口;4——上腔体;5——上法兰;6——螺栓;
7——压环;8——圆片;9——()形圈;10——下法兰;11——进气口;12——下腔体。
金属材料氢脆敏感度试验设备主体基本结构