该方法适用于最大工作压力为1.0MPa及1.25MPa的气制动系统用尼龙(聚酰胺)管进行脉冲疲劳试验,试验按如下要求及步骤进行:
1、试样要求:
管件间长度约300mm的管总成6根。
2、试验条件:
——加压介质:惰性压力介质(水压);
——外部介质:空气;
——试验压力:从低于0.2MPa的压力值到最大工作压力(1MPa或1.25MPa)的133% ;
——试验频率:0.5Hz到1HZ。
3、试验结构示意图:
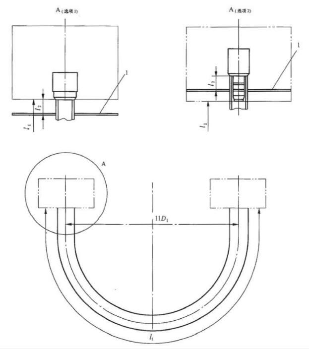
试验的结构示意与应力开裂试验的相同(见图1)。

图1 应力开裂示意图
4、试验步骤:
4.1 按照图2在100℃±2℃环境温度下施加低于0.2MPa的压力值到最大工作压力(1MPa或1.25MPa)133%的压力值。

1——试验压力;2——试验压力的±5%;3——试验压力的85%;4——压力上升的切线;
5——试验压力的15%;6——0点;7——0点;8——一次冲击循环。
图2 冲击压力曲线示意图
4.2 重复400000循环。试验期间允许管子自由移动(自然晃动)。
4.3 疲劳试验完成后,按照“气制动系统用尼龙(聚酰胺)管爆破试验要求及方法”进行管总成在23℃和100℃下的爆破试验。
5、性能要求:
5.1 试样不应出现失效或泄漏。
5.2 按照4.3步骤进行爆破试验的结果应满足:
a)在23℃下,3根试样的爆破压力应大于同批次试样在23℃下测量参考值的80%。
b)在100℃下,另外3根试样爆破压力应大于同批次试样在100℃下测量参考值的80%。(除最小爆破压力外,脆性破裂、任何泄漏或端部管件的拔脱或卷曲应视为失效)
以上就是关于气制动系统用尼龙(聚酰胺)管的脉冲疲劳试验方法的所有内容,关于该产品的更多性能试验方法可参阅《QC/T 80 道路车辆-气制动系统用尼龙(聚酰胺)管》。
如果您对上述试验内容所用的脉冲疲劳试验装置感兴趣,欢迎与我们联系!电话:0755-8889 8859 QQ:459675648。
