今天与大家分享的是“汽车真空单向阀的耐压强度及耐久性试验方法”。
1、汽车真空单向阀耐压强度试验按如下步骤方法进行:
1.1 试验装置及连接方式如图1所示。

图1 汽车真空单向阀耐压强度试验装置原理
1.2 封堵单向阀真空输出端。
1.3 以不大于0.5MPa/s的加压速率在单向阀真空输入端施加2MPa~2.1MPa的压力。
1.4 检测并记录样品状态,试验结果不应出现壳体和焊接处损坏。
2、汽车真空单向阀耐久性试验按如下步骤方法进行:
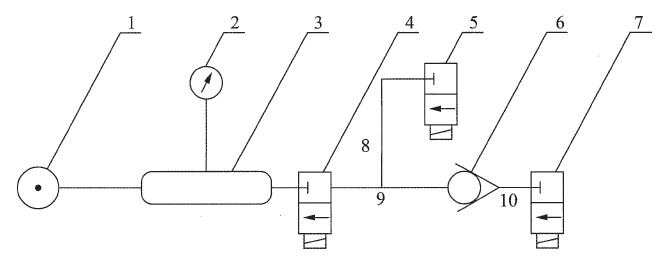
2.1 试验装置及连接方式如图4所示。

1——真空源;2——真空压力表;3——真空罐;4——电磁阀V1;5——电磁阀V2;6——单向阀(试验样品);
7——电磁阀V3;8、9——软管,容积不应大于5 mL;10——软管,容积不应大于10 mL。
图2 耐久性试验装置原理
2.2 将被试单向阀样品按图4所示连接到试验装置中,将真空罐中的真空度设置为(-80±2) kPa。
2.3 启动试验设备,使3个电磁阀按图3所示工作时序和时间进行工作,每个循环的总时间为3 s,总循环次数为 5*105次 。

图3 耐久性试验控制时序
2.4 试验结束后,按规定进行常温真空密封性试验和开启性试验。
以上就是今天的分享。中国试验机领导品牌-深圳市红足1世足球网是一家专业研发生产各种产品性能检测试验设备的厂家。如用于上文试验的汽车真空单向阀耐压强度机及耐久性试验装置等,欢迎有需要的朋友前来咨询!电话:0755-8889 8859 QQ:459675648。