呼吸阀通气过程中,当呼吸阀的阀盘呈连续“呼出”或“呼入”状态时的压力称为呼吸阀的呼气开启压力,或呼吸阀的吸气开启压力,代号为Ps。如何保证呼吸阀的正常使用呢?今天我们就来了解呼吸阀开启压力的试验方法。
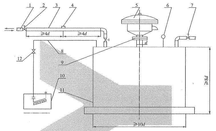
呼吸阀开启压力试验装置见下图1。呼吸阀的呼气状态和吸气状态应分别进行试验。测试管有效截面积不应小于法兰接管的流通面积,其间不应添加弯头、阀门等影响气流稳定和增加压力损失的构件。

1、接风机管;2、控制阀门;3、测试管;4、风速仪接口;5、被测呼吸阀;6、温度计;7、放空阀;8、胶管;9、带法兰接管;10、微压计;11、储气罐;12、阀门
图1 呼吸阀开启压力和通气量试验装置示意图(注:d为呼吸阀相连接管的外径。)
带法兰接管的公称直径应与呼吸阀连接法兰公称直径一致,其与储气罐罐顶连接处端部内侧应为圆滑过渡,且无毛刺和可见操作,见下图2,风速仪接口应位于气流稳定的测试管中部位置,距两侧的弯头或阀门的距离不应小于4d,接口与测试管相连处应光滑无毛刺。

图2 接管(注:di为接管的内径)
呼吸阀开启压力试验方法:
调节控制阀门,使储气罐内的压力逐步升高或降低进行开启压力试验。将阀盘调整到关闭状态,试验时由微压计读出压力值,每分钟读值一次,然后再将阀盘分别转动90°和180°重复上述试验,每一工况测三次,取9个压力值的算术平均值。试验结果符合下面的规定。
1、在下表2规定的温度下,且全天候型呼吸阀满足相关的补充要求时,其开启压力不应大于下表1中的规定值,其允许偏差:正压为-20Pa~0Pa;负压为0Pa~20Pa。
2、呼吸阀阀盘在开启和关闭时,应动作灵活;动作完成后处于关闭状态时,应能有效密封。

表1 呼吸阀开启压力分级表

表2 呼吸阀适用温度
以上就是关于“呼吸阀开启压力的试验方法”所有内容,如您对上述的呼吸阀开启压力试验装置感兴趣,欢迎与我们联系!电话:0755-8889 8859 QQ:459675648.