软管(包括橡胶软管、塑料软管及软管组合件)进行静液压爆破压力试验应按照现行最新标准《GBT 5563-2013 橡胶和塑料软管及软管组合件 静液压试验方法》第8条“爆破压力试验”的要求进行,今天我们就共同来学习“软管静液压爆破压力试验方法及要求”。
按照7.2.2规定的速度升高压力,直至软管和软管组合件破坏,在试验报告中应记录下软管爆破的位置和状态。
Ps:标准7.2.2内容:升压速度应是恒定的,对公称内径小于或等于50mm的软管应在30s~60s之间达到最终压力。对于公称内径大于50mm而小于或等于250mm的软管,其达到最终压力所需时间应在60s~240s之间.对于公称内径大于250mm的软管,达到最终压力所需要的时间应由制造厂和使用者决定。
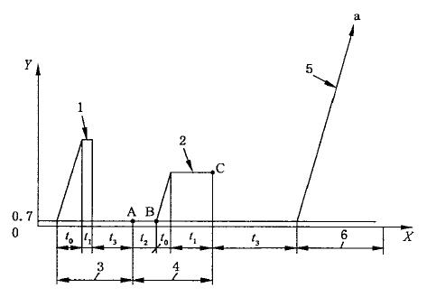
试验步骤的说明,见下图:

(标准规定的软管静液压爆破压力试验程序图)
程序图说明:
X——时间,t;Y——压力,p(MPa或bar);
1——验证压力;2——试验压力;3——泄露和缺陷的检测;4——测量;5——爆破压力;6——爆破;
t0——规定压力增加时间;t1——规定压力保持时间;t2——在参考压力(0.07MPa)下初始尺寸(长度和直径)时测量时间;
t3——不同压力下规定的等待时间;a——爆破。
此完整试验程序(验证压力——试验压力——爆破压力)仅适用于“型式试验”。对于例行试验,验证压力后的“测量结果”仅适用于相关软管制品标准有规定时。
测量初始长度和直接或周长,并标出扭转测量量A和B点之间的参考标记。在C点前直接测量长度、直径或周长、扭转和弯曲的增加。
以上就是“软管静液压爆破压力试验方法及要求”,有兴趣的朋友可下载《GBT 5563-2013 橡胶和塑料软管及软管组合件 静液压试验方法》了解详细。
中国试验机领导品牌-深圳市红足1世足球网专业生产适用于各类型管材管件的性能试验检测设备,如今天内容中提到的软管静液压爆破压力试验机,软管脉冲疲劳试验机等,欢迎有需要的客户朋友莅临我司参观考察!电话:0755-8889 8859 QQ:459675648.