自动喷水灭火系统洒水喷头也叫消防喷淋头,区别于普通的洒水喷头,消防喷淋头是一种用于消防喷淋系统,当发生火灾时,水通过喷淋头溅水盘洒出进行灭火的一种喷头洒水灭火装置。根据安装位置的不同可分为通用型喷头、直立型喷头、下垂型喷头及边墙型喷头这4种,或者分为边墙型喷头和非边墙型喷头(通用型喷头、直立型喷头及下垂型喷头都属于非边墙型喷头的类型)两种。布水性能是评估消防洒水喷头的灭火效果的最重要指标,而布水试验则是验证其性能的主要方法。今天我们就来了解自动喷水灭火系统洒水喷头的布水试验方法。
我们知道,消防喷淋头有边墙型喷头和非边墙型喷头两种,而他们的试验方法也是不一样的,具体请看下文。
一、非边墙型洒水喷头的布水试验方法
试验室的面积应不小于7m×7m,取4只同种安装形式、同口径的喷头呈正方形安装于试验管路上,试验管路及集水盒的布置见图3至图5。喷头轭臂应与供水管平行。干式喷头应取其产品的最短规格进行试验。
吊顶与直立型喷头溅水盘之间的距离为50mm,与下垂型喷头溅水盘之间的距离为275mm。
齐平、嵌入、隐蔽式喷头应取其最嵌入的位置,安装在不小于6m×6m的吊顶上,吊顶置于试验室的中央。试验喷头通过三通或弯头直接安装在水平管路上,或通过通径为25mm、长度不小于150mm的短管和变径联接在水平管路上。
三种公称口径的喷头的保护面积和洒水密度在表4中给出。公称口径为15mm和20mm的喷头应在表4中规定的两种条件下分别进行试验。
4只喷头之间保护面积内的洒水密度由正方形集水盒测量,集水盒的边长为500mm,吊顶距集水盒上边缘2.7m,集水盒位于4只喷头下方保护面积的中央,试验集水时间不应少于3min。
试验结果应符合下表1的规定。

(表1 非边墙型喷头布水要求)

(图1 布水试验室布置(保护面积12.25m2)单位为毫米)


(图2 布水试验室布置(保护面积9m2)单位为毫米)

(图3 布水试验室布置(保护面积6.25m2)单位为毫米)
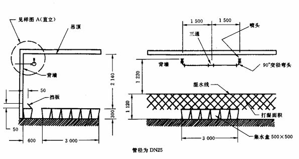
二、边墙型洒水喷头的布水试验方法
试验室面积不应小于7m×7m,取2只同型号同口径的边墙型喷头按图6所示,沿着一面墙安装于试验管路上。喷头间距为3m,吊顶距每只喷头溅水盘之间的距离为100mm。2只喷头之间保护面积内的水分布用36只边长为500mm的集水盒测量。吊顶距集水盒上边缘的距离为2.14m。
36只集水盒位于2只喷头之间区域的地面上,见图6和图7。第一行集水盒应平行于喷头后的墙面,距墙600mm。
另外,将一行6个集水盒置于2只喷头之间的地上贴近墙面,收集洒在墙面上的水。墙的表面应用不透水、不吸水的材料覆盖,水应能从墙面上直接导入集水盒中(见图6和图7)。在此行集水盒上方置一档板,以防止从喷头中洒出的水直接进入集水盒。
边墙型喷头的试验条件见表5,试验洒水时间为10min。计算集水盒的平均洒水密度和任一单只集水盒的洒水密度。检查喷头打湿其背后墙面的情况,试验结果应符合下表2规定。

(表2 边墙型喷头布水要求)

(图4 边墙型喷头布水试验室布置 单位为毫米)

(图5 边坡型喷头布水试验安装图 单位为毫米)
以上就是关于“自动喷水灭火系统洒水喷头布水试验试验方法”的所有内容,有兴趣的朋友可以参阅《GB 5135.1-2003 自动喷水灭火系统 第1部分 洒水喷头》。
中国试验机领导品牌-深圳市红足1世足球网为您提供全系列消防产品的性能试验测试设备。如上文中提到的消防洒水喷头布水试验机等。欢迎有需要的客户朋友莅临我司参观考察!电话:0755-8889 8859 QQ:459675648.